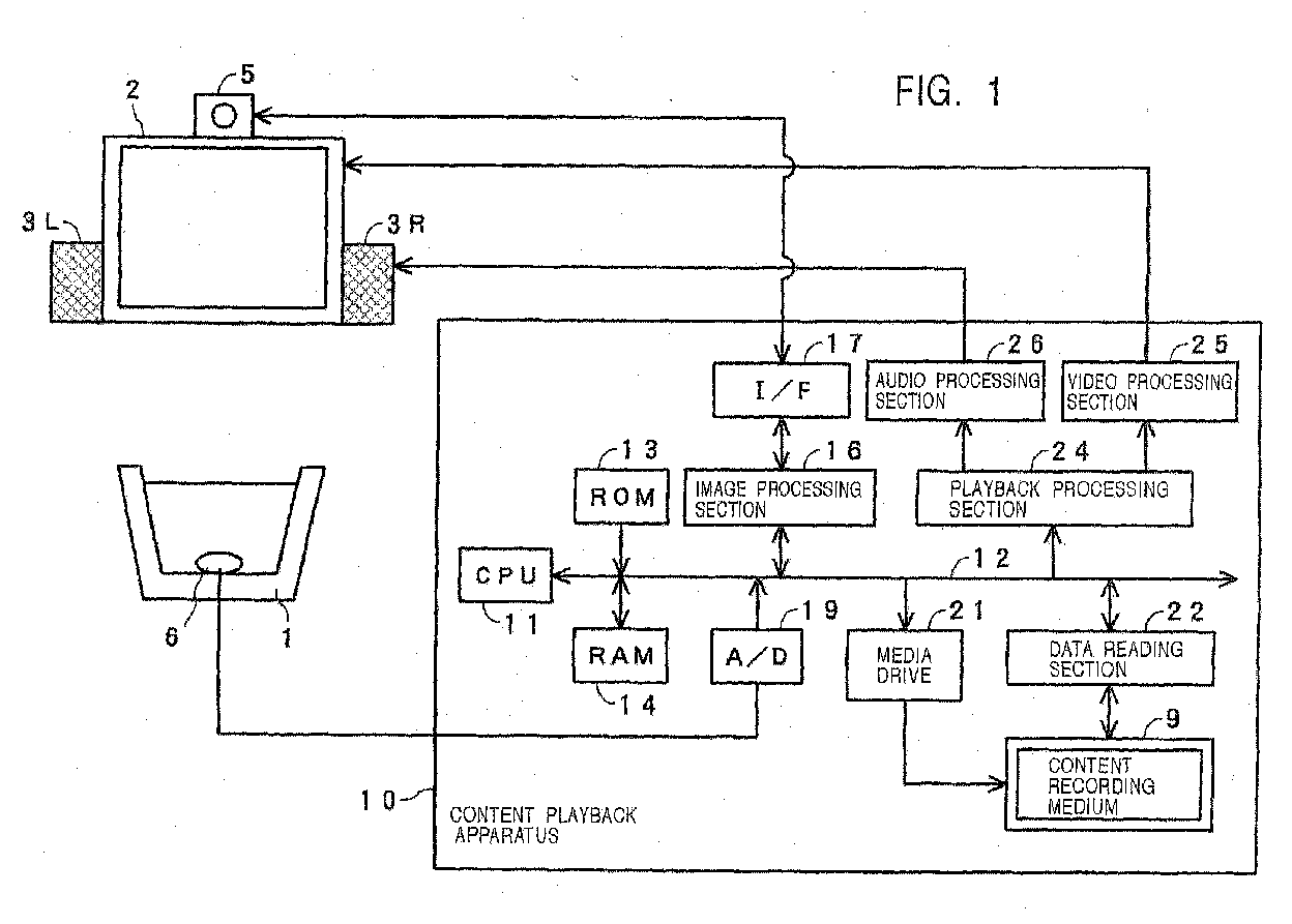
标题:
Content playback
授权日:
1900-01-01
公开(公告)号:
EP1503376A2
申请日:
2004-07-27
公开(公告)日:
2005-02-02
当前申请(专利权)人:
SONY CORPORATION
发明人:
INOUE, MAKOTO, C/O SONY CORPORATION | SAKO, YOICHIRO, C/O SONY CORPORATION | SHIRAI, KATSUYA, C/O SONY CORPORATION | TERAUCHI, TOSHIRO, C/O SONY CORPORATION | MIYAJIMA, YASUSHI, C/O SONY CORPORATION | MAKINO, KENICHI, C/O SONY CORPORATION | TAKAI, MOTOYUKI, C/O SONY CORPORATION | INOUE, AKIKO, C/O SONY CORPORATION
简单同族:
CN1581348A | EP1503376A2 | EP1503376A3 | JP2005051654A | US20050041951A1 | US7460761
简单同族成员数量:
6
简单同族被引用专利总数:
83
诉讼案件数:
0
法律状态/事件:
驳回