首页
专利数据库
产业人才
行业动态
产业政策法规
维权援助
个人中心
登录/注册
详情
文本
图像
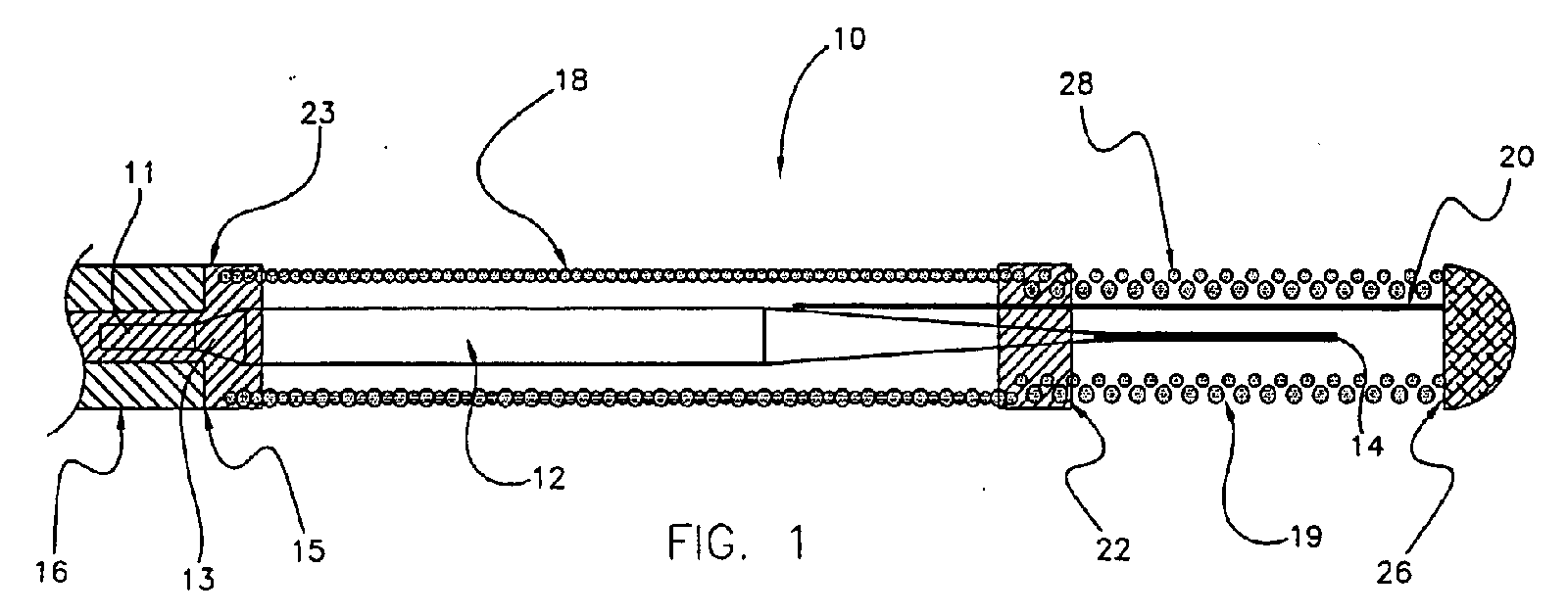
标题:
Composite guidewire with a linear elastic distal portion
授权日:
1900-01-01
公开(公告)号:
EP1464358A1
申请日:
2004-03-26
公开(公告)日:
2004-10-06
当前申请(专利权)人:
MEDTRONIC INTERVENTIONAL VASCULAR, INC.
发明人:
DEMELLO, RICHARD M. | FLIGHT, BRUCE
简单同族:
EP1464358A1 | JP2004298635A | US20040193073A1
简单同族成员数量:
3
简单同族被引用专利总数:
142
诉讼案件数:
0
法律状态/事件:
撤回