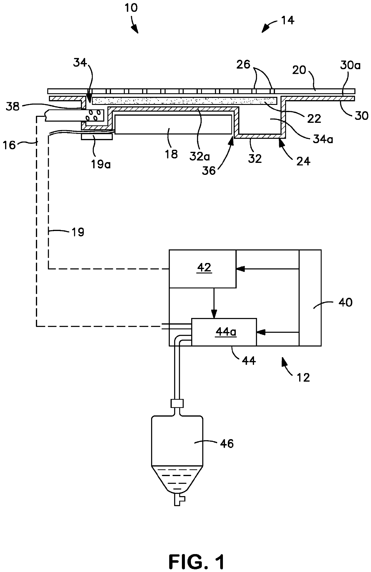
标题:
Body interface device for removing urine discharged by the human body
授权日:
2019-12-04
公开(公告)号:
EP2244756B1
申请日:
2008-10-20
公开(公告)日:
2019-12-04
当前申请(专利权)人:
CONVATEC TECHNOLOGIES INC.
发明人:
TSAI, MINGLIANG LAWRENCE | NGUYEN-DEMARY, TINH
简单同族:
AU2008311789A1 | AU2008311791A1 | AU2008311795A1 | BRPI0818512A2 | BRPI0818615A2 | CA2700372A1 | CA2701604A1 | CA2701663A1 | CN101842123A | CN101918072A | CN101970027A | CN101970027B | EP2244756A1 | EP2244756A4 | EP2244756B1 | EP2244757A1 | EP2244757A4 | EP2252359A1 | EP2252359A4 | JP2011500223A | JP2011500223A5 | JP2011500224A | JP2011500224A5 | JP2011500225A | JP2011500225A5 | MX2010003559A | MX2010003560A | MX2010003561A | NZ584897A | NZ584897B | NZ584899A | NZ584899B | US20100211029A1 | US20100211032A1 | US20100234820A1 | US8303554 | WO2009052496A1 | WO2009052498A1 | WO2009052502A1
简单同族成员数量:
39
简单同族被引用专利总数:
71
诉讼案件数:
0
法律状态/事件:
授权