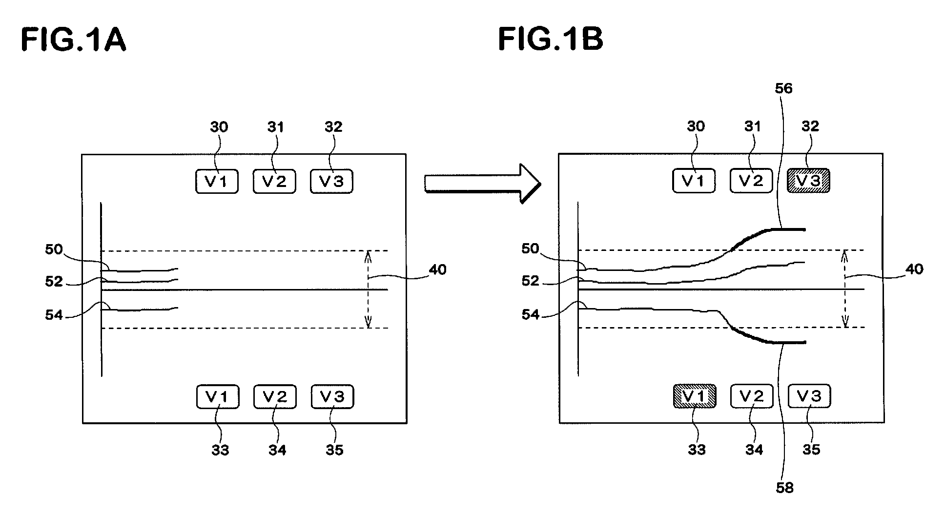
标题:
Biological information trend display and its method
授权日:
1900-01-01
公开(公告)号:
EP1547519A1
申请日:
2003-08-26
公开(公告)日:
2005-06-29
当前申请(专利权)人:
NIHON KOHDEN CORPORATION
发明人:
KOUCHI, KENJI | NAGAI, RYUJI | NAGATA, SHINYA
简单同族:
AU2003261717A1 | CN100435724C | CN101310677A | CN101310677B | CN1678237A | EP1547519A1 | EP1547519A4 | EP3081159A1 | HK1076997A | HK1121358A | HK1121358A1 | JP4373915B2 | JPWO2004023994A1 | US20050246366A1 | US20100238192A1 | US8781751 | WO2004023994A1
简单同族成员数量:
17
简单同族被引用专利总数:
62
诉讼案件数:
0
法律状态/事件:
驳回 | 权利转移