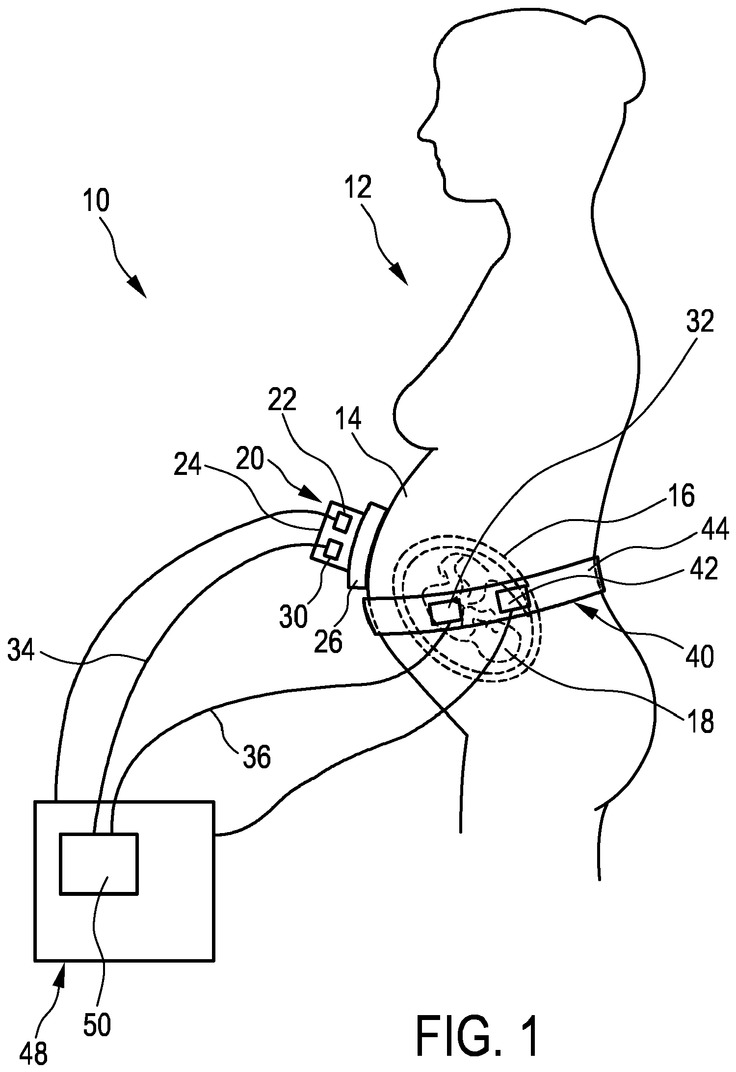
标题:
Pregnancy monitoring system and method
授权日:
2017-05-24
公开(公告)号:
EP3062683B1
申请日:
2014-10-13
公开(公告)日:
2017-05-24
当前申请(专利权)人:
KONINKLIJKE PHILIPS N.V.
发明人:
VAN DE LAAR, JAKOB | DURIC, HARIS | SCHMITT, LARS | WOHLSCHLAGER, MARKUS | KAISER, WINFRIED PETER
简单同族:
CN105722454A | CN105722454B | EP3062683A1 | EP3062683B1 | JP2016531642A | JP6154554B2 | RU2016121227A | RU2016121227A3 | RU2677014C2 | US20160256132A1 | WO2015062851A1
简单同族成员数量:
11
简单同族被引用专利总数:
16
诉讼案件数:
0
法律状态/事件:
授权