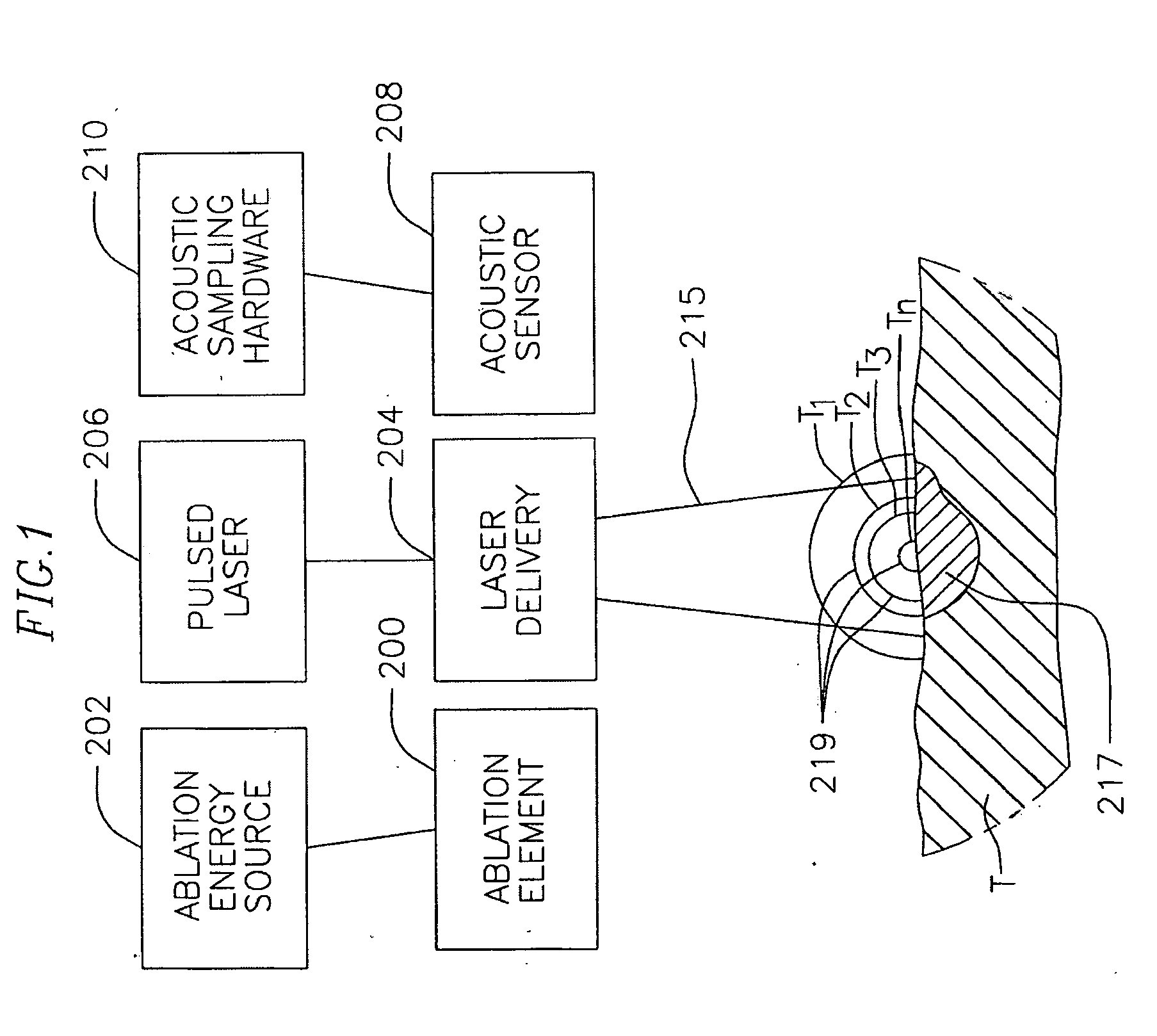
标题:
Real-Time optoacoustic monitoring with electrophysiologic catheters
授权日:
1900-01-01
公开(公告)号:
EP1935332A2
申请日:
2007-12-21
公开(公告)日:
2008-06-25
当前申请(专利权)人:
BIOSENSE WEBSTER, INC.
发明人:
SHARAREH, SHIVA | LIEBER, CHAD A.
简单同族:
BRPI0705970A | BRPI0705970A2 | CA2615340A1 | CA2615340C | CN101243968A | CN101243968B | EP1935332A2 | EP1935332A3 | EP1935332B1 | JP2008178676A | JP5179162B2 | MX2008000111A | RU2007147913A | RU2464926C2 | US20080154257A1
简单同族成员数量:
15
简单同族被引用专利总数:
71
诉讼案件数:
0
法律状态/事件:
授权