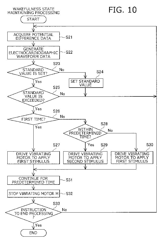
标题:
Wakefulness-maintenance apparatus
授权日:
1900-01-01
公开(公告)号:
EP2871630A1
申请日:
2013-07-08
公开(公告)日:
2015-05-13
当前申请(专利权)人:
TS TECH CO., LTD. | PUBLIC UNIVERSITY CORPORATION NAGOYA CITY UNIVERSITY
发明人:
SUGIYAMA, SHINJI | NAKANO, TOYOKAZU | YOKOYAMA, KIYOKO | TAKAHASHI, ISSEY
简单同族:
EP2871630A1 | EP2871630A4 | JP6429118B2 | JPWO2014010568A1 | US20150202991A1 | US9815384 | WO2014010568A1
简单同族成员数量:
7
简单同族被引用专利总数:
8
诉讼案件数:
0
法律状态/事件:
撤回