首页
专利数据库
产业人才
行业动态
产业政策法规
维权援助
个人中心
登录/注册
详情
文本
图像
标题:
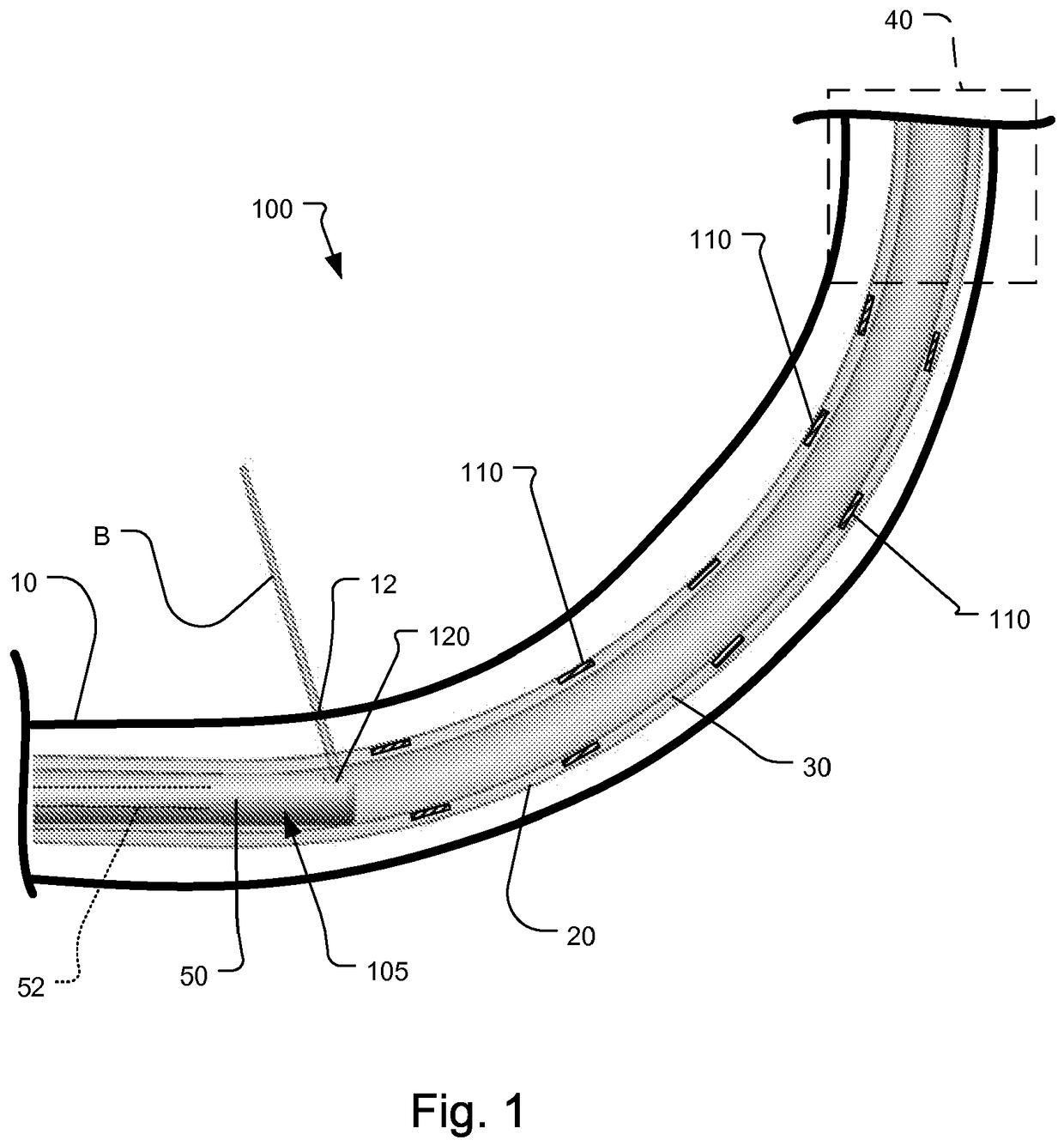
Sheath with optically interrogatable sensors
授权日:
2019-03-06
公开(公告)号:
EP2931116B1
申请日:
2013-12-10
公开(公告)日:
2019-03-06
当前申请(专利权)人:
VOLCANO CORPORATION
发明人:
FLANDERS, DALE C.
简单同族:
CA2895072A1 | EP2931116A1 | EP2931116B1 | JP2016502873A | JP2016502873A5 | JP6275739B2 | US20140163392A1 | US9717422 | WO2014093263A1
简单同族成员数量:
9
简单同族被引用专利总数:
9
诉讼案件数:
0
法律状态/事件:
授权