首页
专利数据库
产业人才
行业动态
产业政策法规
维权援助
个人中心
登录/注册
详情
文本
图像
标题:
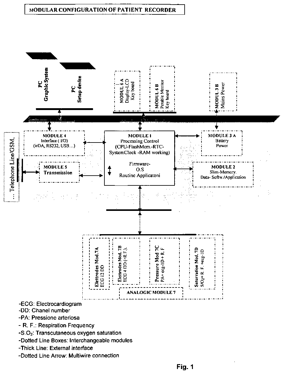
Transtelephonic multifunctional electrocardiograph
授权日:
1900-01-01
公开(公告)号:
EP1589464A3
申请日:
2004-01-27
公开(公告)日:
2006-03-22
当前申请(专利权)人:
SGALAMBRO, GAETANO
发明人:
SGALAMBRO, GAETANO
简单同族:
EP1443448A2 | EP1443448A3 | EP1589464A2 | EP1589464A3 | IT1347457B1 | ITMI2003000160A1
简单同族成员数量:
6
简单同族被引用专利总数:
4
诉讼案件数:
0
法律状态/事件:
撤回