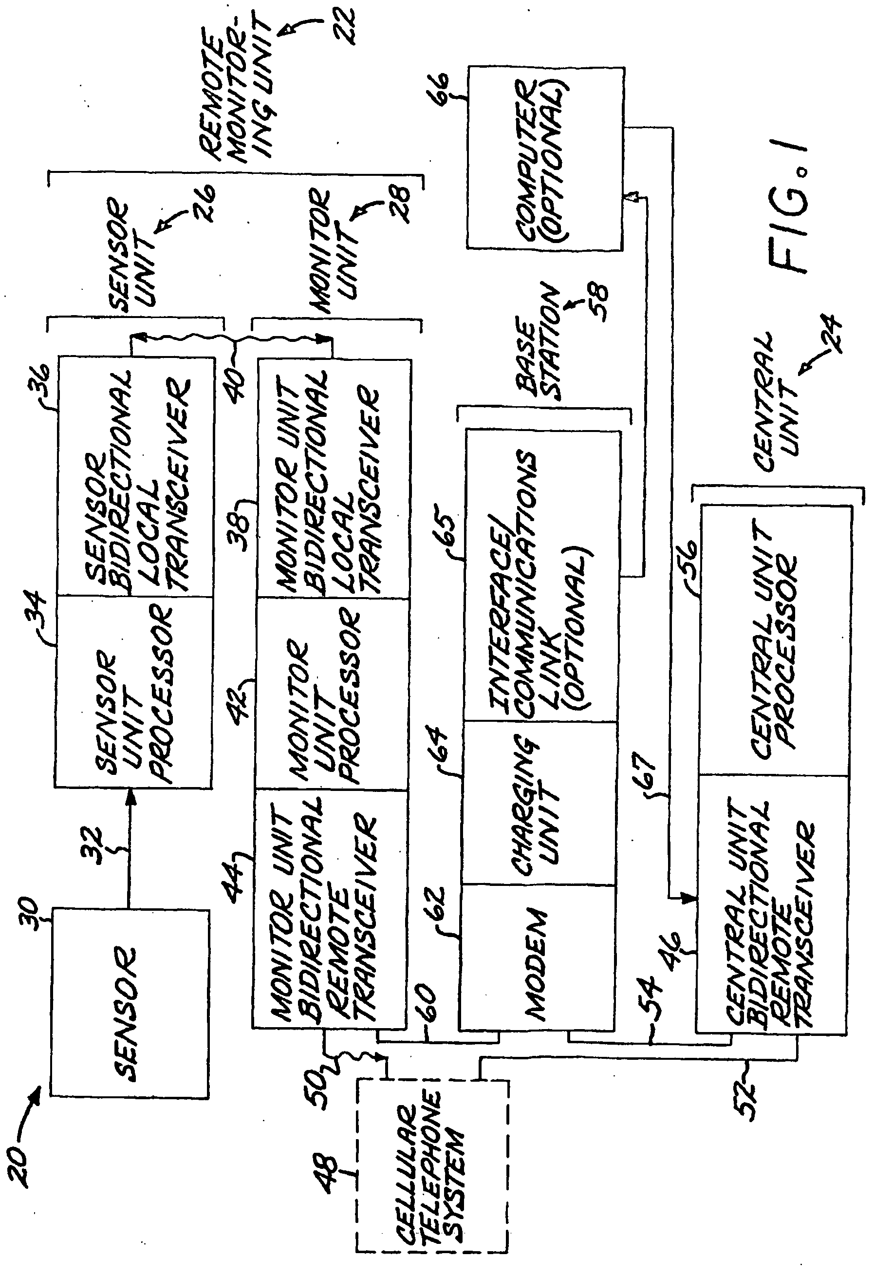
标题:
Bidirectional communication between a sensor unit and a monitor unit in patient monitoring
授权日:
2016-10-19
公开(公告)号:
EP2355065B1
申请日:
2002-04-22
公开(公告)日:
2016-10-19
当前申请(专利权)人:
CARDIONET, INC.
发明人:
EGGERS, PHILLIP N.
简单同族:
AU2002316043A1 | AU2002316043B2 | CA2444957A1 | CA2444957C | CN1524251A | DE60236942D1 | EP1415289A1 | EP1415289B1 | EP2355065A1 | EP2355065B1 | ES2347139T3 | JP2004532679A | KR1020040010628A | US20020186821A1 | US6801137 | WO2002086837A1
简单同族成员数量:
16
简单同族被引用专利总数:
212
诉讼案件数:
0
法律状态/事件:
权利终止 | 权利转移