标题:
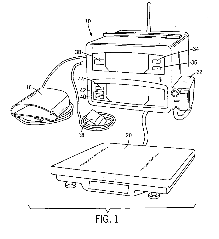
In-home patient monitoring system
授权日:
1900-01-01
公开(公告)号:
EP1726257A3
申请日:
2000-09-20
公开(公告)日:
2014-06-18
当前申请(专利权)人:
HONEYWELL HOMMED LLC
发明人:
PEDDICORD, HERSCHEL Q. | TABOR, KENT A.
简单同族:
AT339154T | AU2001038846A1 | BRPI0014096A2 | BRPI0014096B1 | DE60030752D1 | DE60030752T2 | EP1229821A1 | EP1229821B1 | EP1726257A2 | EP1726257A3 | EP1726257B1 | US6402691 | WO2001021065A1
简单同族成员数量:
13
简单同族被引用专利总数:
467
诉讼案件数:
0
法律状态/事件:
授权