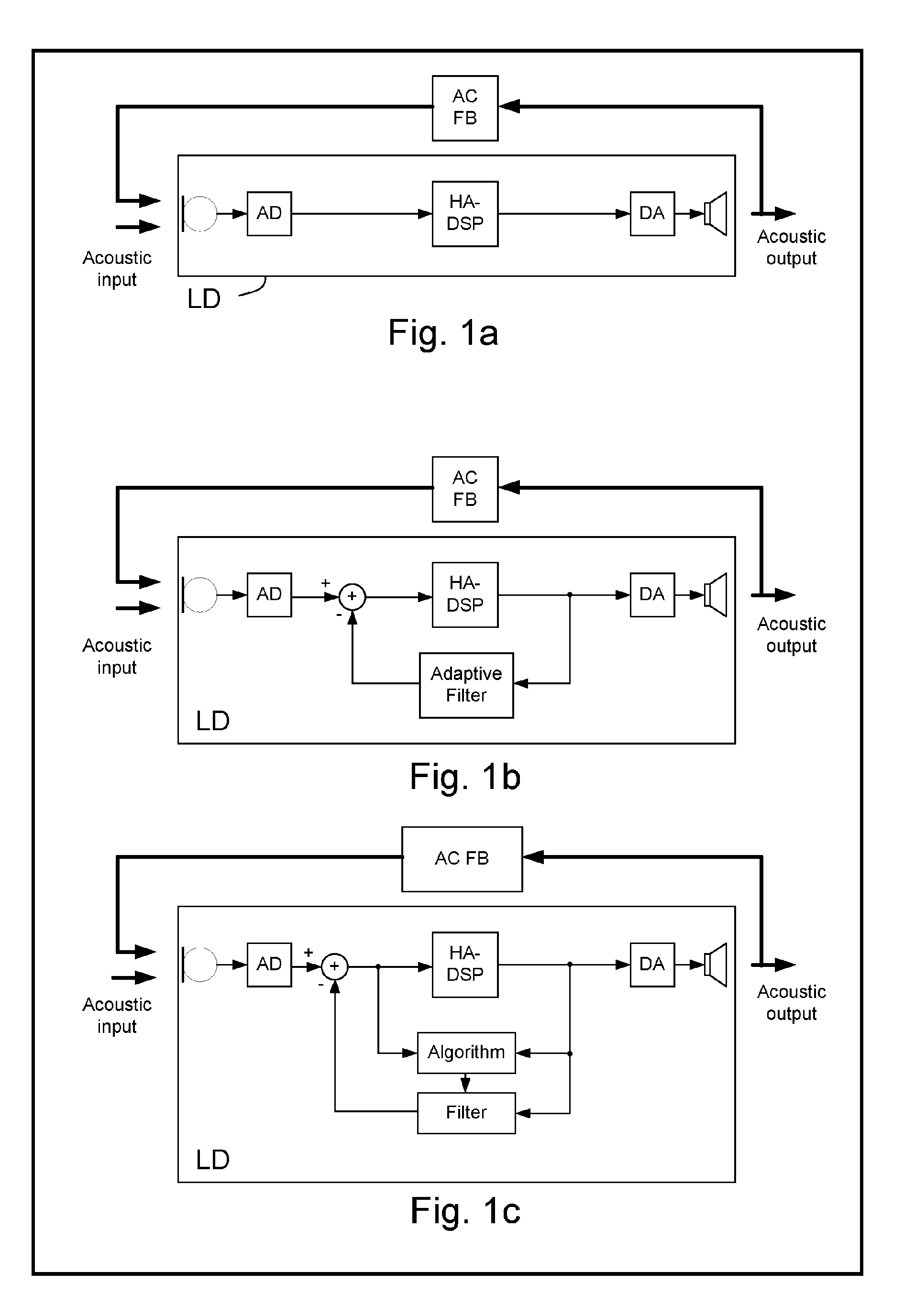
标题:
A hearing assistance device with brain-computer interface
授权日:
1900-01-01
公开(公告)号:
EP2813175A2
申请日:
2014-06-03
公开(公告)日:
2014-12-17
当前申请(专利权)人:
OTICON A/S
发明人:
PONTOPPIDAN, NIELS HENRIK | LUNNER, THOMAS | PEDERSEN, MICHAEL SYSKIND | HAUSCHULTZ, LARS IVAR | KOCH, POVL | NAYLOR, GRAHAM | PETERSEN, ELINE BORCH
简单同族:
CN104244157A | CN104244157B | EP2813175A2 | EP2813175A3 | US20140369537A1 | US20160119726A1 | US20190327570A1 | US9210517
简单同族成员数量:
8
简单同族被引用专利总数:
70
诉讼案件数:
0
法律状态/事件:
实质审查