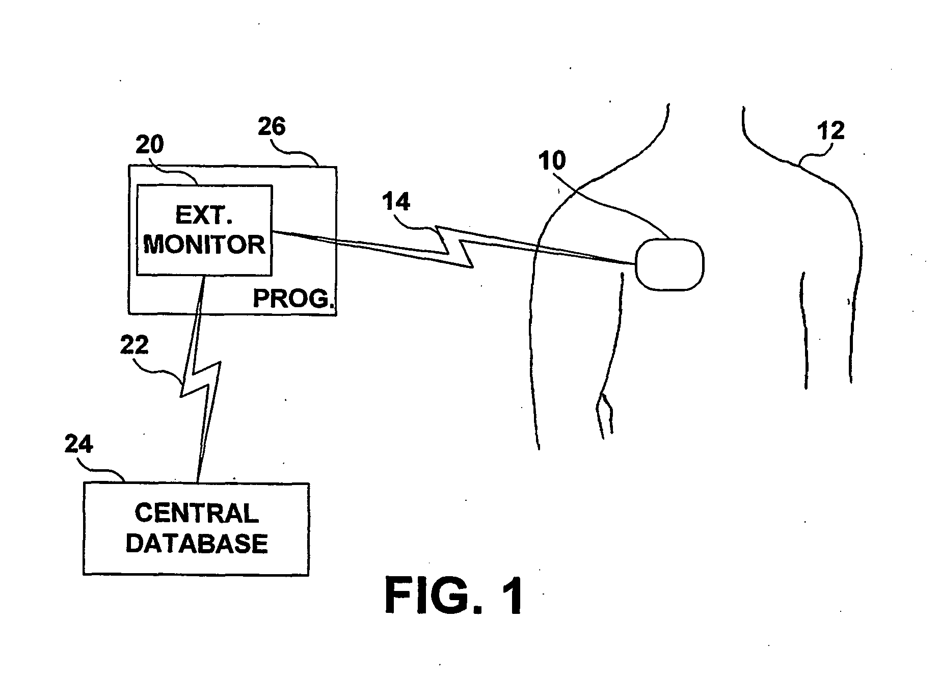
标题:
Automatic parameter status on an implantable medical device system
授权日:
2013-01-02
公开(公告)号:
EP1928545B1
申请日:
2006-08-25
公开(公告)日:
2013-01-02
当前申请(专利权)人:
MEDTRONIC, INC.
发明人:
BALL, JAMES J. | MCADAMS, SEAN B. | HOUSE, CHRIS T.
简单同族:
CA2620597A1 | EP1928545A1 | EP1928545B1 | JP2009505793A | JP2009505793A5 | JP4881382B2 | US20070060797A1 | US8827904 | WO2007027570A1
简单同族成员数量:
9
简单同族被引用专利总数:
119
诉讼案件数:
0
法律状态/事件:
授权