标题:
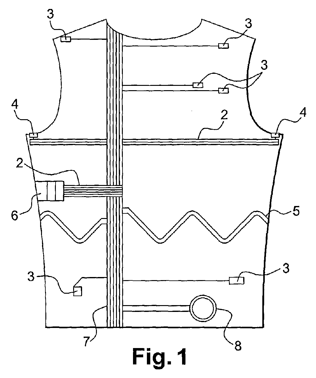
Garment for medical monitoring of a patient
授权日:
1900-01-01
公开(公告)号:
EP1506738A1
申请日:
2004-08-04
公开(公告)日:
2005-02-16
当前申请(专利权)人:
TAM TELESANTE
发明人:
KLEFSTAD-SILLONVILLE, FRANCIS | WEBER, JEAN-LUC | BLANC, DAVID
简单同族:
AT430515T | DE602004020950D1 | EP1506738A1 | EP1506738B1 | FR2858758A1 | FR2858758B1 | US20050034485A1 | US7319895
简单同族成员数量:
8
简单同族被引用专利总数:
216
诉讼案件数:
0
法律状态/事件:
授权