首页
专利数据库
产业人才
行业动态
产业政策法规
维权援助
个人中心
登录/注册
详情
文本
图像
标题:
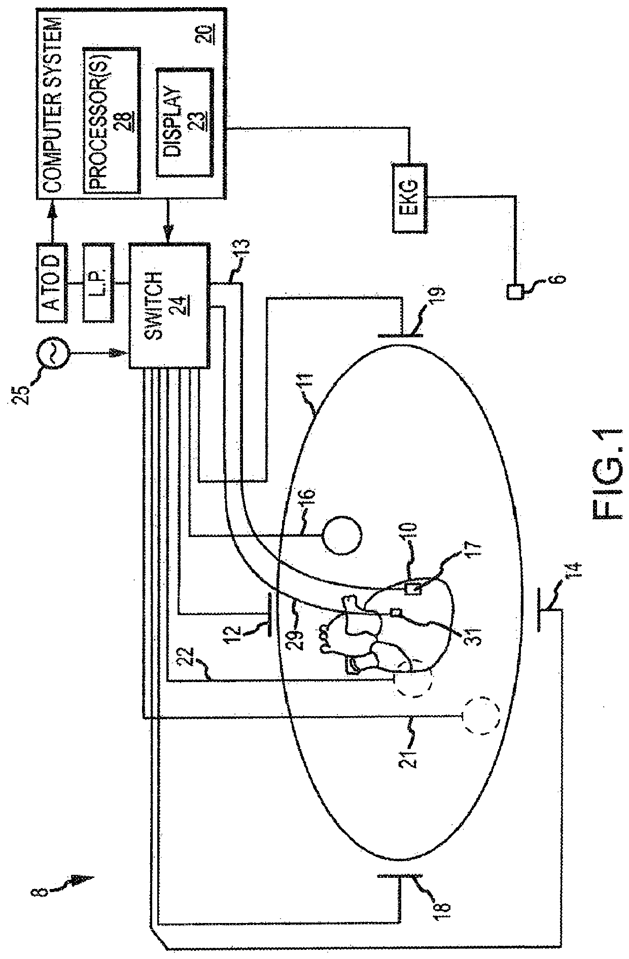
System for generating electrophysiology maps
授权日:
2018-02-28
公开(公告)号:
EP3021744B1
申请日:
2014-10-03
公开(公告)日:
2018-02-28
当前申请(专利权)人:
ST. JUDE MEDICAL, CARDIOLOGY DIVISION, INC.
发明人:
DENO, D. CURTIS
简单同族:
CN105555187A | CN105555187B | EP3021744A1 | EP3021744B1 | JP2016531639A | JP6152474B2 | US20150099992A1 | US9220435 | WO2015054048A1
简单同族成员数量:
9
简单同族被引用专利总数:
14
诉讼案件数:
0
法律状态/事件:
授权