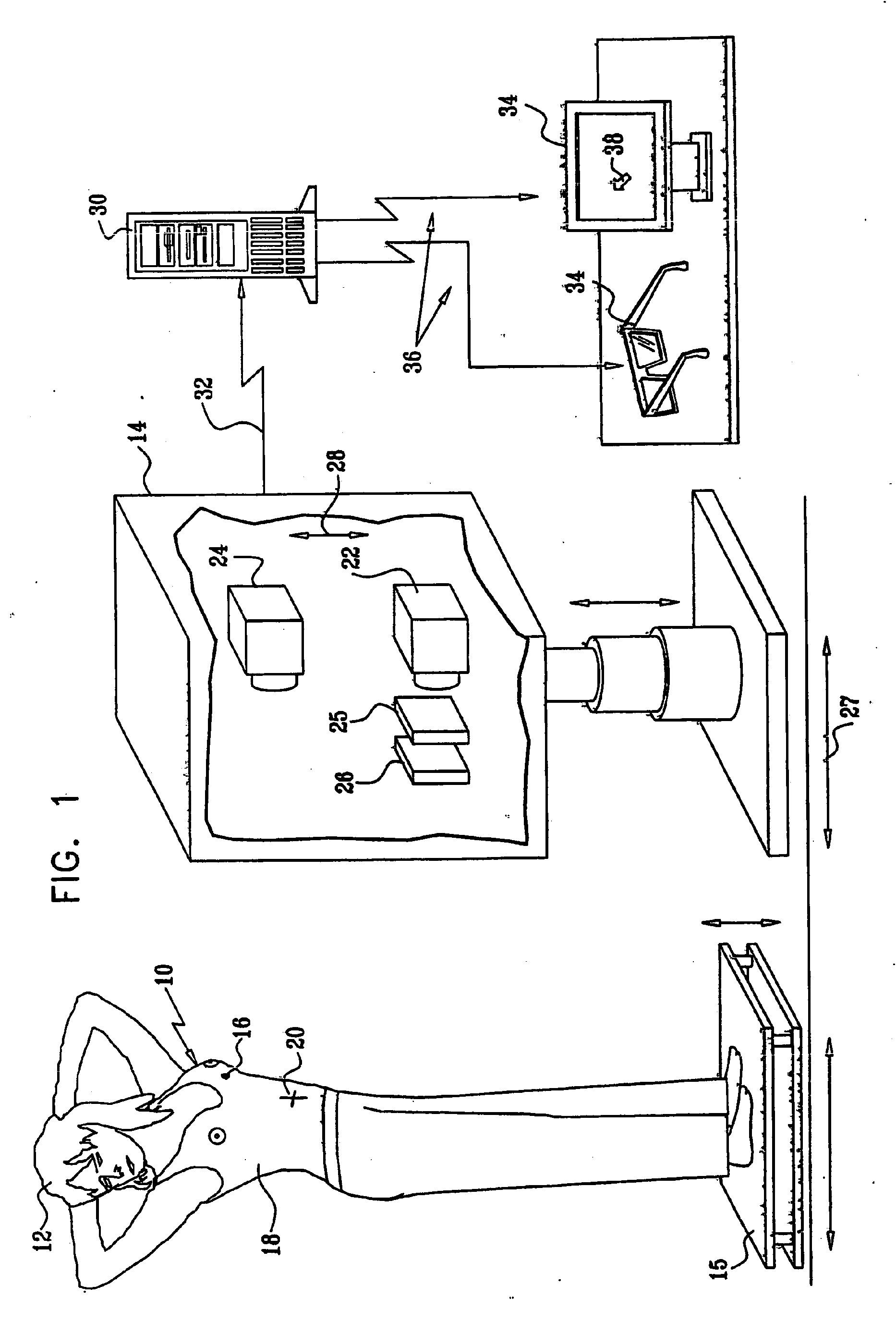
标题:
3D thermal breast cancer detector
授权日:
2013-02-20
公开(公告)号:
EP1766551B1
申请日:
2005-07-04
公开(公告)日:
2013-02-20
当前申请(专利权)人:
REAL IMAGING
发明人:
ARNON, BOAZ
简单同族:
CA2573246A1 | CA2573246C | CN101040288A | EP1766551A2 | EP1766551A4 | EP1766551B1 | HK1101930A | HK1101930A1 | JP2008505684A | JP2008505684A5 | KR1020070061783A | NZ552704A | NZ552704B | US20070110293A1 | US7292719 | WO2006003658A2 | WO2006003658A3 | ZA200700165B
简单同族成员数量:
18
简单同族被引用专利总数:
118
诉讼案件数:
0
法律状态/事件:
授权