标题:
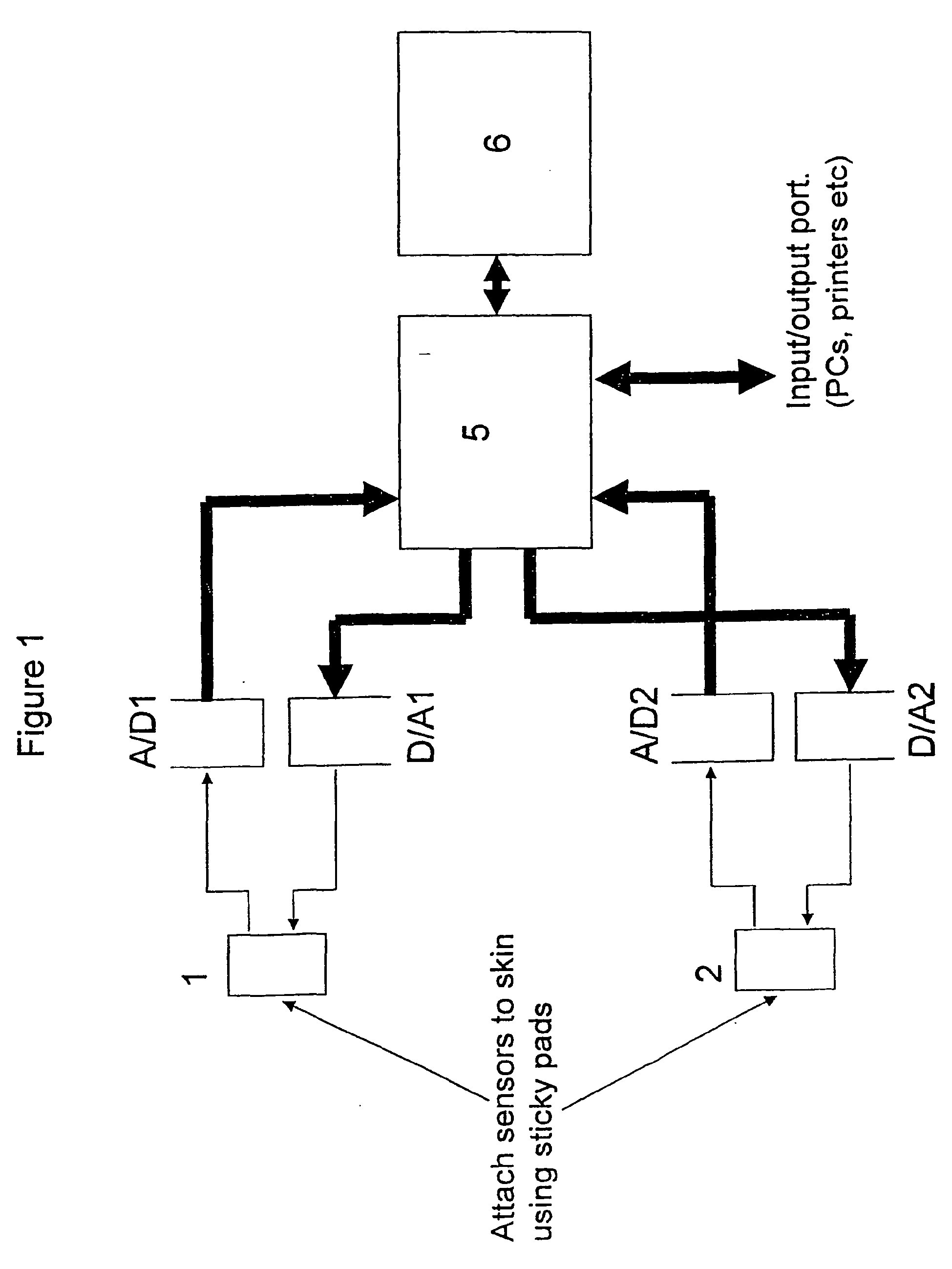
DVT detection
授权日:
2012-08-29
公开(公告)号:
EP1824382B1
申请日:
2005-10-19
公开(公告)日:
2012-08-29
当前申请(专利权)人:
HUNTLEIGH TECHNOLOGY LIMITED
发明人:
GOUGH, NIGEL
简单同族:
AU2005297051A1 | AU2005297051B2 | CA2583095A1 | CA2583095C | CN100574699C | CN101039618A | DK1824382T3 | EP1824382A1 | EP1824382B1 | GB0423289D0 | GB0521249D0 | GB2419403A | JP2008516719A | US20080076984A1 | US20120065523A1 | WO2006043052A1 | ZA200703510B
简单同族成员数量:
17
简单同族被引用专利总数:
12
诉讼案件数:
0
法律状态/事件:
权利终止 | 权利转移