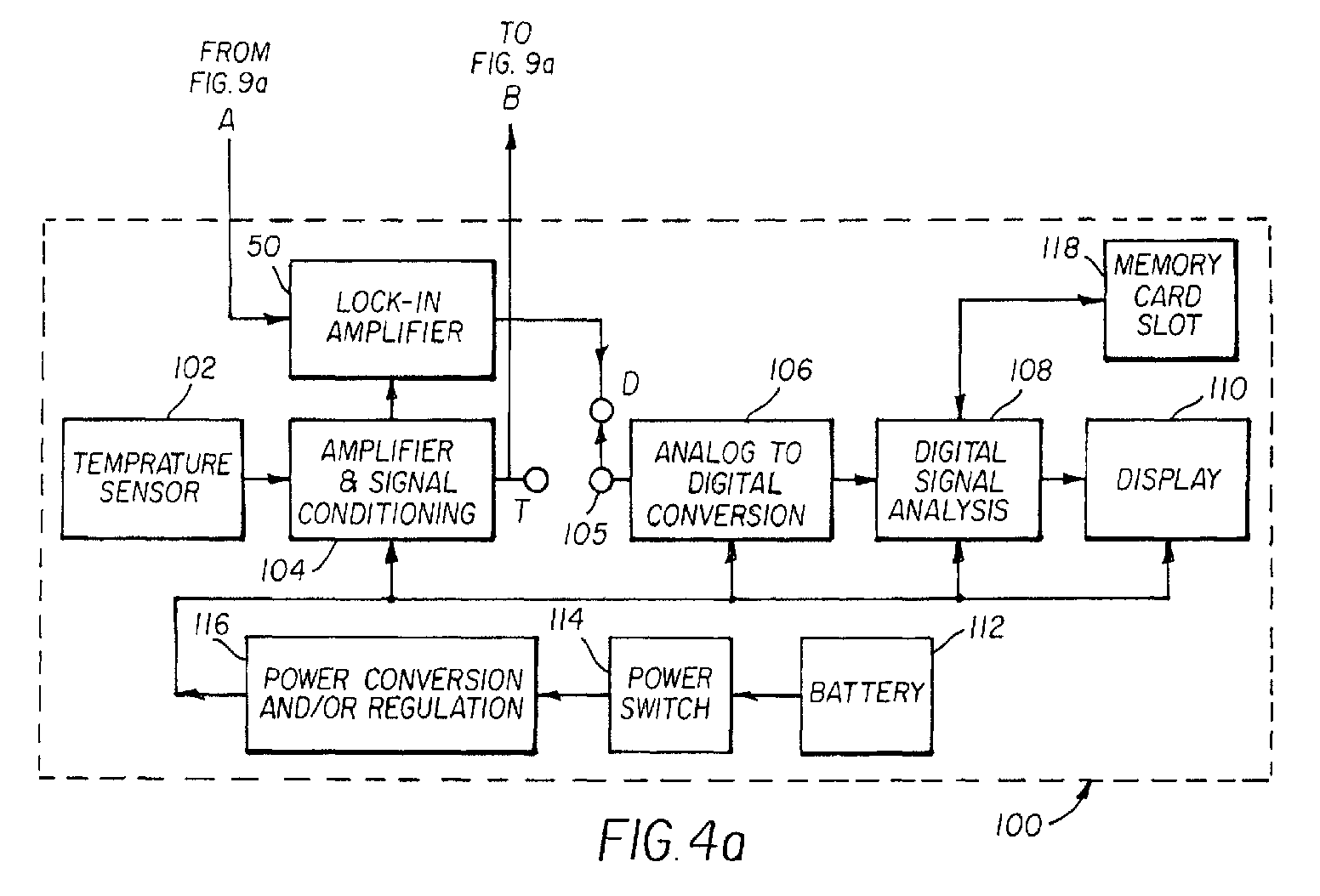
标题:
Reducing noise in a technique for diagnosing attention deficit hyperactivity disorder
授权日:
1900-01-01
公开(公告)号:
EP1221306A2
申请日:
2001-12-10
公开(公告)日:
2002-07-10
当前申请(专利权)人:
THE MCLEAN HOSPITAL CORPORATION
发明人:
BLAZEY, RICHARD N. | PATTON, DAVID L. | PARKS, PETER A.
简单同族:
EP1221306A2 | EP1221306A3 | JP2002219131A | US20020112732A1 | US6527730
简单同族成员数量:
5
简单同族被引用专利总数:
5
诉讼案件数:
0
法律状态/事件:
撤回 | 权利转移