首页
专利数据库
产业人才
行业动态
产业政策法规
维权援助
个人中心
登录/注册
详情
文本
图像
标题:
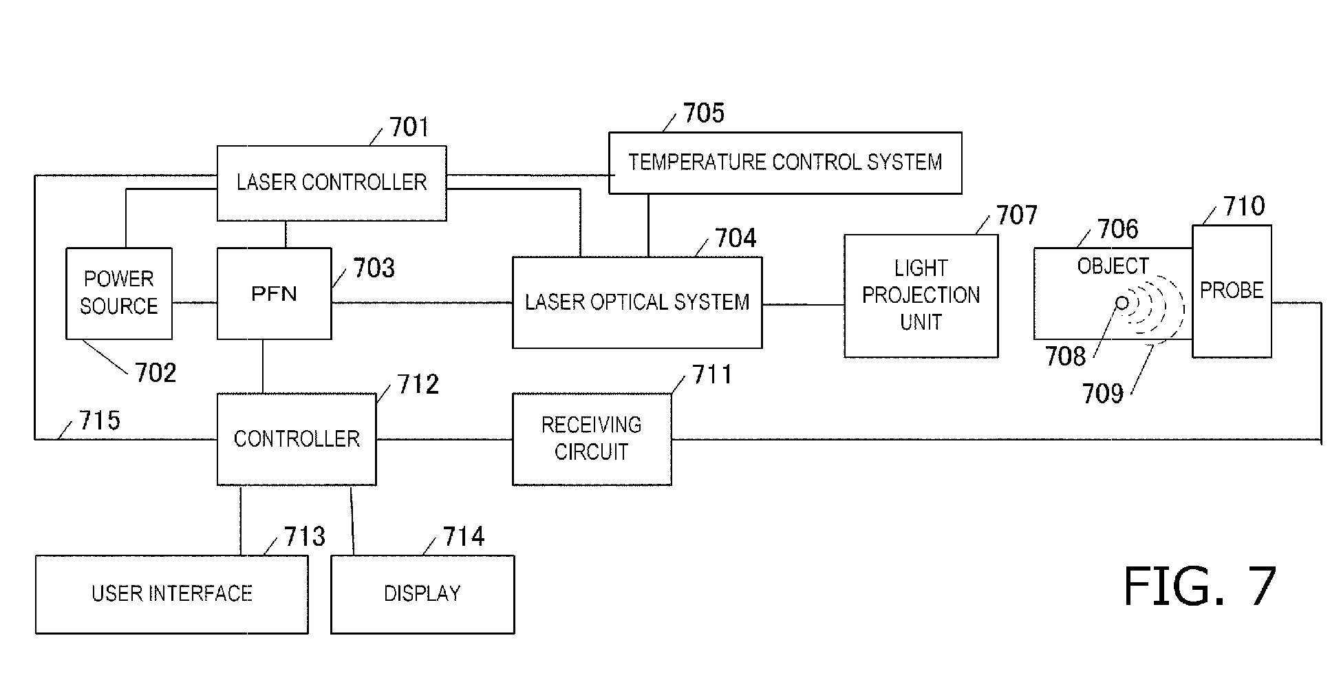
Object information acquiring apparatus and laser apparatus
授权日:
1900-01-01
公开(公告)号:
EP2846347A1
申请日:
2014-06-11
公开(公告)日:
2015-03-11
当前申请(专利权)人:
CANON KABUSHIKI KAISHA
发明人:
SUZUKI, KOICHI
简单同族:
CN104248453A | CN104248453B | EP2846347A1 | JP2015012012A | JP6207257B2 | US20150005599A1 | US20170127949A1 | US9585570
简单同族成员数量:
8
简单同族被引用专利总数:
9
诉讼案件数:
0
法律状态/事件:
实质审查 | 权利转移