标题:
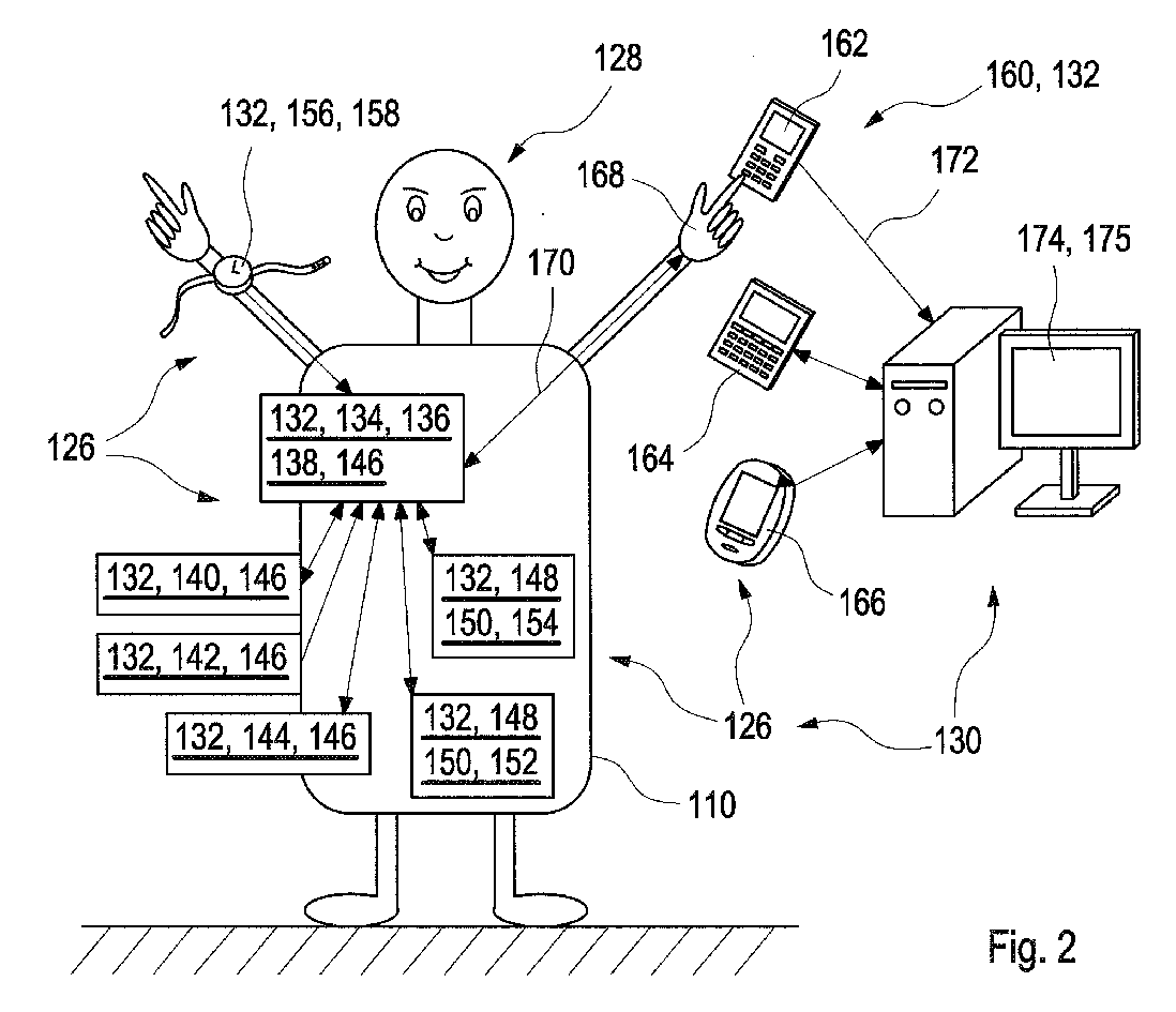
Medical monitoring network
授权日:
1900-01-01
公开(公告)号:
EP2208458A1
申请日:
2009-01-14
公开(公告)日:
2010-07-21
当前申请(专利权)人:
ROCHE DIAGNOSTICS GMBH | F. HOFFMANN-LA ROCHE AG
发明人:
RÖSICKE, BERND | FROECH, SYBILLE | NIESPOREK, CHRISTIAN | REISER, WOLFGANG
简单同族:
CN102281813A | EP2208458A1 | EP2387351A1 | EP2387351B1 | HK1161821A | US20120179004A1 | WO2010081675A1
简单同族成员数量:
7
简单同族被引用专利总数:
153
诉讼案件数:
0
法律状态/事件:
撤回