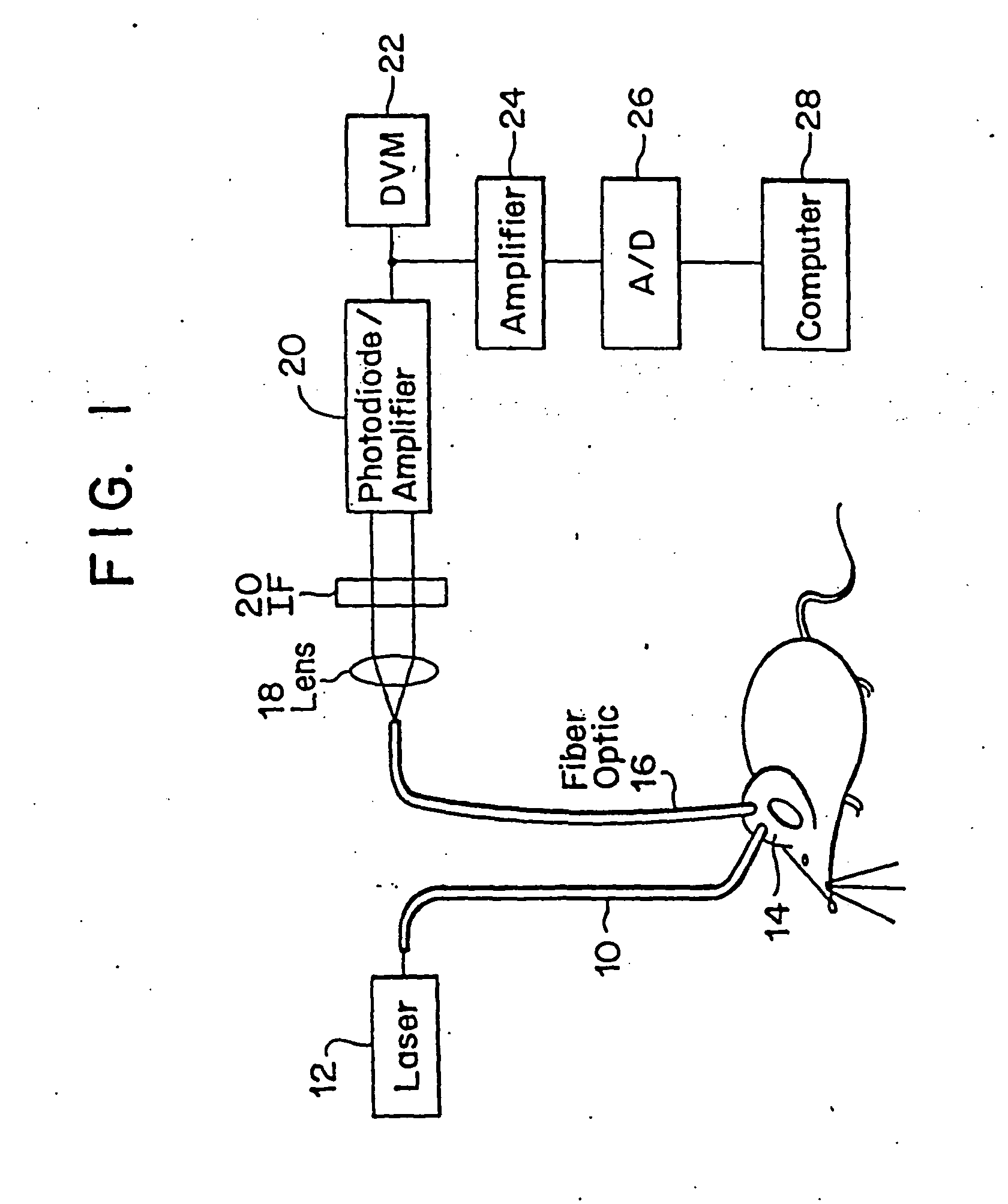
标题:
Simultaneous multimodal measurement of physiological function
授权日:
1900-01-01
公开(公告)号:
EP1604689A1
申请日:
2001-03-01
公开(公告)日:
2005-12-14
当前申请(专利权)人:
MALLINCKRODT LLC
发明人:
COMBS, ARTHUR, H. | DORSHOW, RICHARD B. | BUGAJ, JOSEPH, E. | RAJAGOPALAN, RAGHAVAN | ACHILEFU, SAMUEL, I.
简单同族:
AU2001245382A1 | EP1263477A1 | EP1263477A4 | EP1604689A1 | JP2003525914A | JP2003525914A5 | US6280703 | WO2001066152A1
简单同族成员数量:
8
简单同族被引用专利总数:
70
诉讼案件数:
0
法律状态/事件:
驳回 | 权利转移