标题:
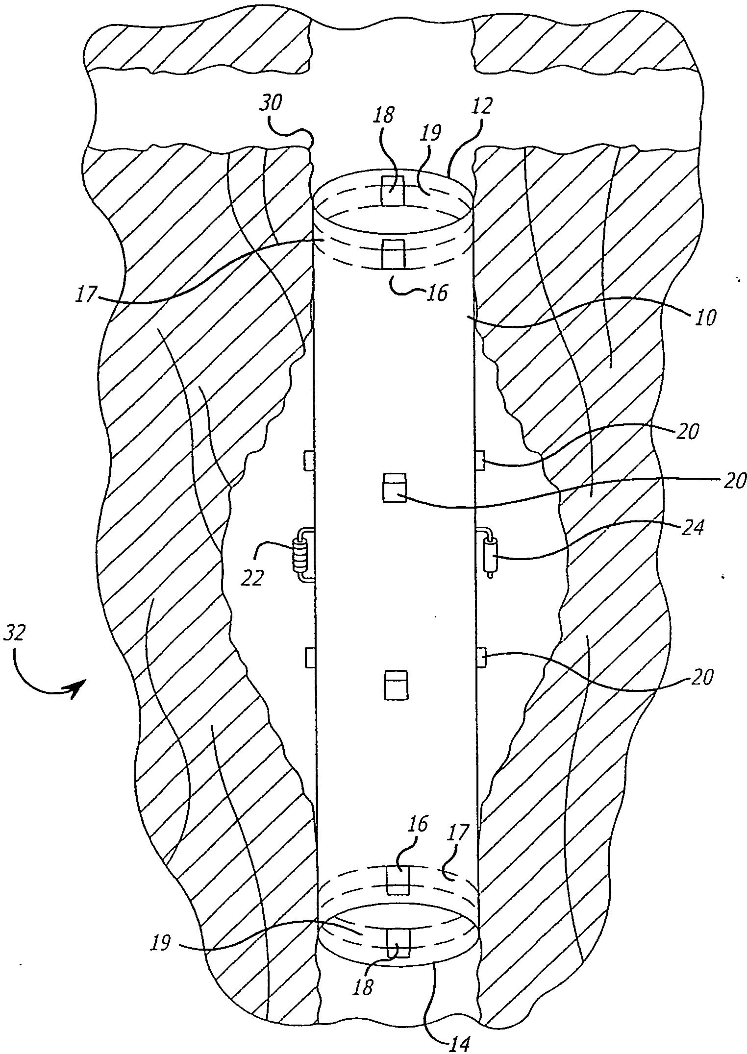
Endoprosthesis having pressure, temperature, and flow sensors
授权日:
1900-01-01
公开(公告)号:
EP1511446A4
申请日:
2003-06-06
公开(公告)日:
2009-02-11
当前申请(专利权)人:
ENDOVASCULAR TECHNOLOGIES, INC.
发明人:
HAYASHI, REID | CONCEMI, ALFRED
简单同族:
EP1511446A1 | EP1511446A4 | EP1511446B1 | US20030229388A1 | US20060149347A1 | US7025778 | WO2003103542A1
简单同族成员数量:
7
简单同族被引用专利总数:
71
诉讼案件数:
0
法律状态/事件:
权利终止