标题:
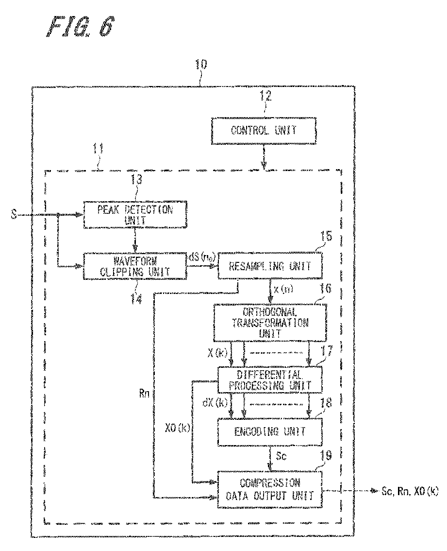
Biological information processing device, biological information processing system, biological information compression method, and biological information compression processing program
授权日:
1900-01-01
公开(公告)号:
EP2813178A1
申请日:
2012-12-19
公开(公告)日:
2014-12-17
当前申请(专利权)人:
KYUSHU INSTITUTE OF TECHNOLOGY
发明人:
SATO, YASUSHI
简单同族:
CN104114086A | CN104114086B | EP2813178A1 | EP2813178A4 | EP2813178B1 | JP6032714B2 | JPWO2013118398A1 | US20150005655A1 | US9301703 | WO2013118398A1
简单同族成员数量:
10
简单同族被引用专利总数:
12
诉讼案件数:
0
法律状态/事件:
授权