首页
专利数据库
产业人才
行业动态
产业政策法规
维权援助
个人中心
登录/注册
详情
文本
图像
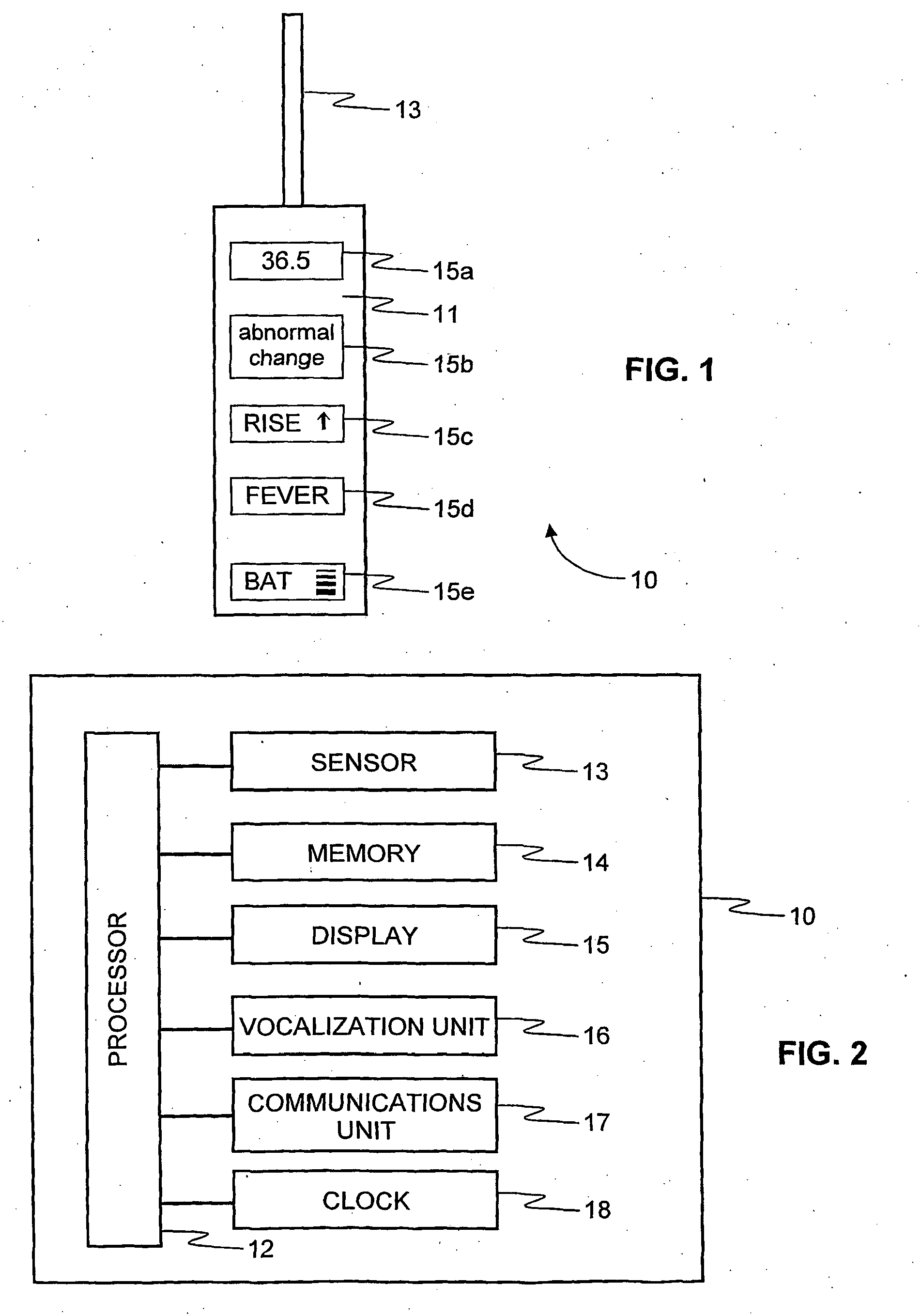
标题:
Improved digital thermometer
授权日:
2009-11-18
公开(公告)号:
EP2005131B1
申请日:
2007-04-01
公开(公告)日:
2009-11-18
当前申请(专利权)人:
HOW-R-YOU TECHNOLOGIES LTD.
发明人:
MENASHE, ILAN
简单同族:
AT449320T | DE602007003334D1 | EP2005131A1 | EP2005131B1 | IL178673A | IL178673D0 | IL194403D0 | JP2009532696A | US20100152606A1 | WO2007113825A1
简单同族成员数量:
10
简单同族被引用专利总数:
16
诉讼案件数:
0
法律状态/事件:
权利终止