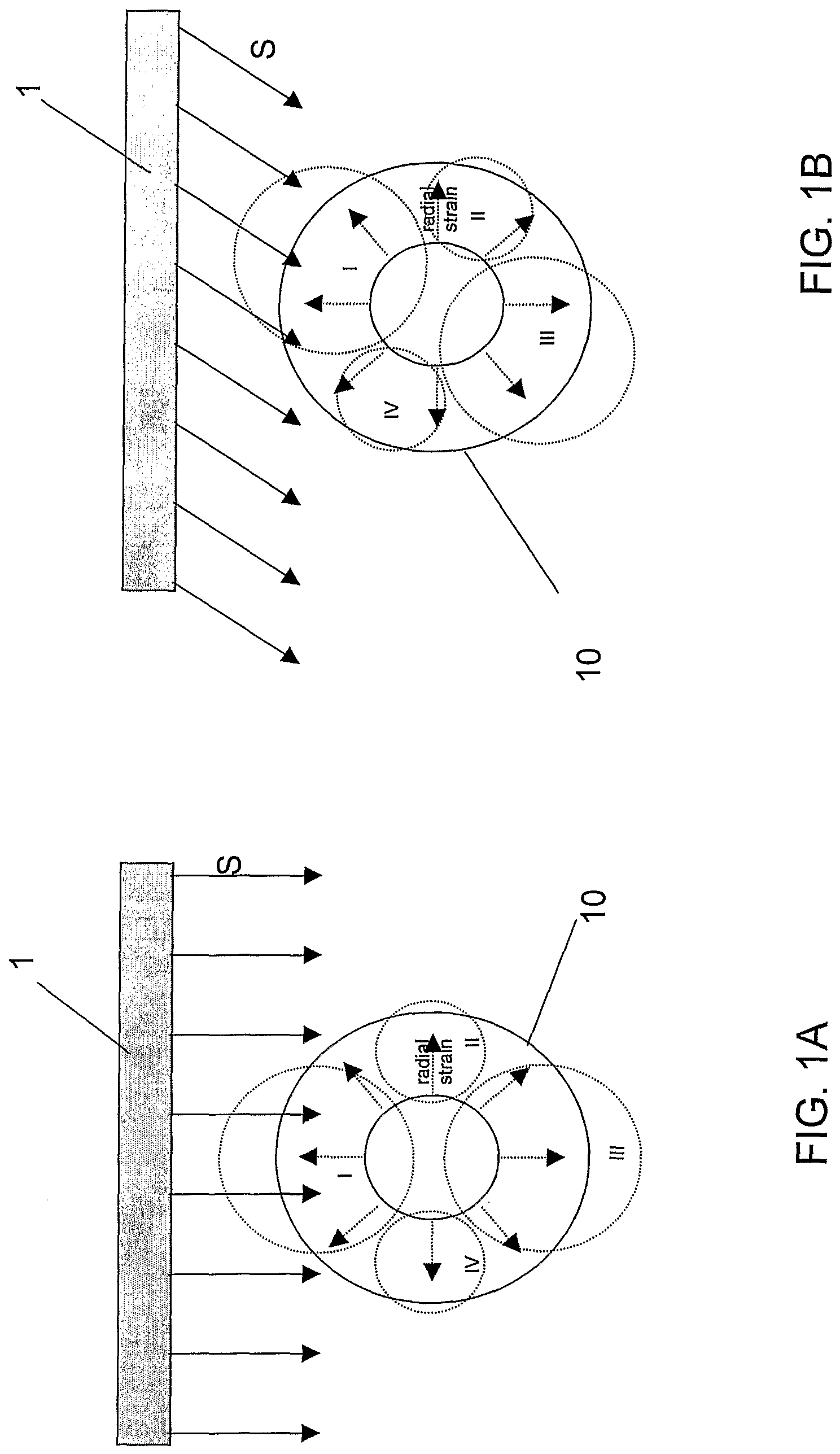
标题:
A method for generating hardness and/or strain information of a tissue
授权日:
2017-01-25
公开(公告)号:
EP1934629B1
申请日:
2006-08-18
公开(公告)日:
2017-01-25
当前申请(专利权)人:
STICHTING KATHOLIEKE UNIVERSITEIT
发明人:
DE KORTE, CHRISTOFFEL LEENDERT
简单同族:
CA2661128A1 | CA2661128C | EP1934629A1 | EP1934629B1 | US20090099447A1 | US8617074 | WO2007021185A1
简单同族成员数量:
7
简单同族被引用专利总数:
7
诉讼案件数:
0
法律状态/事件:
权利终止 | 权利转移