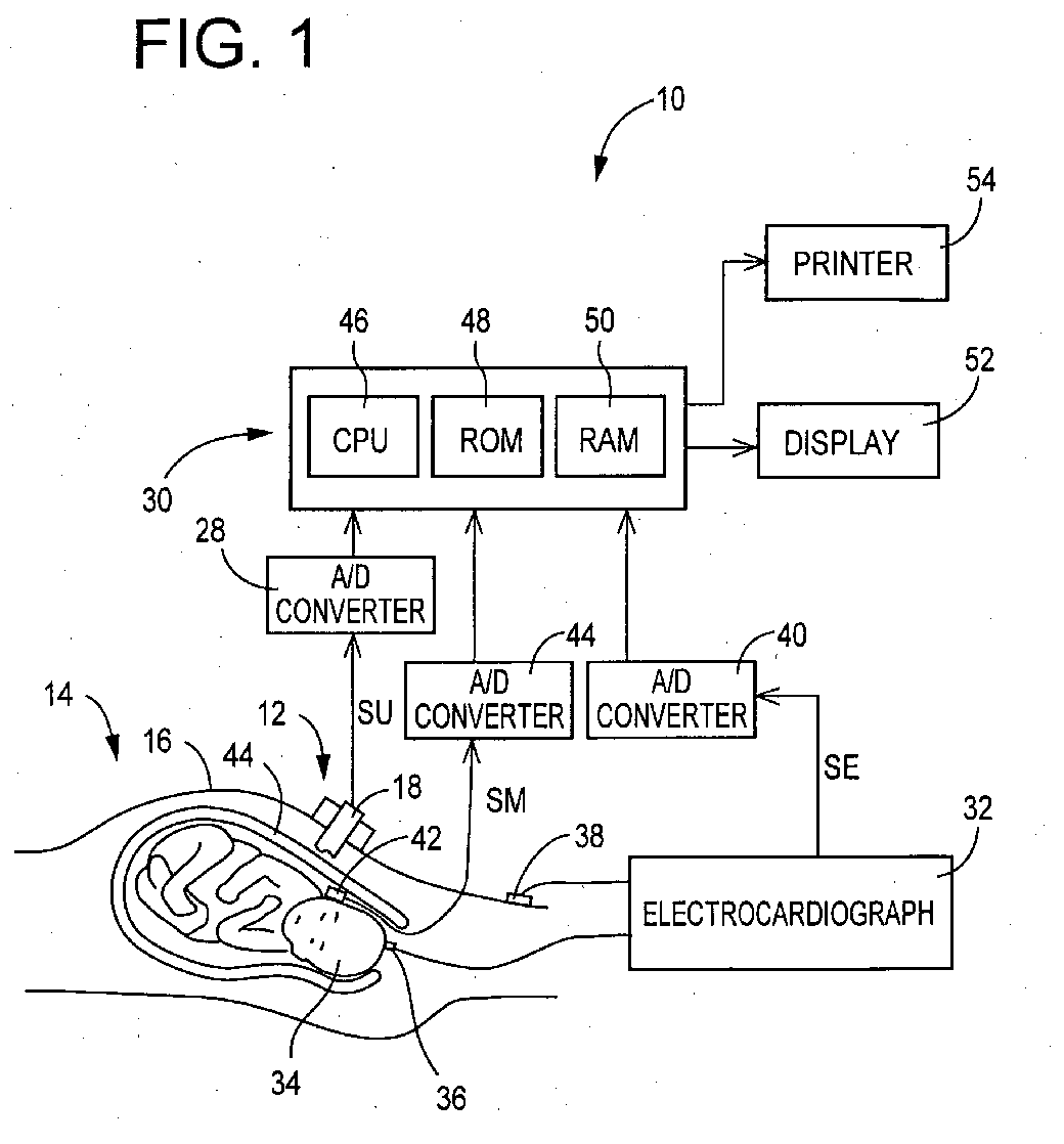
标题:
Fetal-pulse-wave-velocity-related-information obtaining apparatus
授权日:
1900-01-01
公开(公告)号:
EP1366709A1
申请日:
2003-03-20
公开(公告)日:
2003-12-03
当前申请(专利权)人:
COLIN CORPORATION
发明人:
IKENOUE, TSUYOMU, MIYAZAKI MEDICAL COLLEGE | SAMEJIMA, HIROSHI, MIYAZAKI MEDICAL COLLEGE | ITO, HISASHI
简单同族:
EP1366709A1 | JP2003325464A | US20030216658A1
简单同族成员数量:
3
简单同族被引用专利总数:
17
诉讼案件数:
0
法律状态/事件:
撤回