标题:
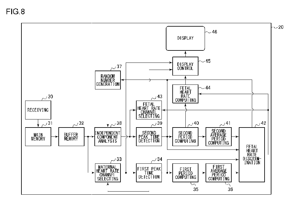
Fetal heart potential signal extraction program, fetal heart potential signal-discriminating apparatus and pregnancy monitoring system using same
授权日:
1900-01-01
公开(公告)号:
EP2668897A1
申请日:
2012-01-25
公开(公告)日:
2013-12-04
当前申请(专利权)人:
PUBLIC UNIVERSITY CORPORATION NARA MEDICAL UNIVERSITY | KINKI UNIVERSITY
发明人:
KOBAYASHI, HIROSHI | SADO, TOSHIYUKI | YOSHIDA, HISASHI
简单同族:
AU2012210045A1 | AU2012210045B2 | EP2668897A1 | EP2668897A4 | JP6043920B2 | JPWO2012102040A1 | US20130310701A1 | US8897862 | WO2012102040A1
简单同族成员数量:
9
简单同族被引用专利总数:
11
诉讼案件数:
0
法律状态/事件:
实质审查