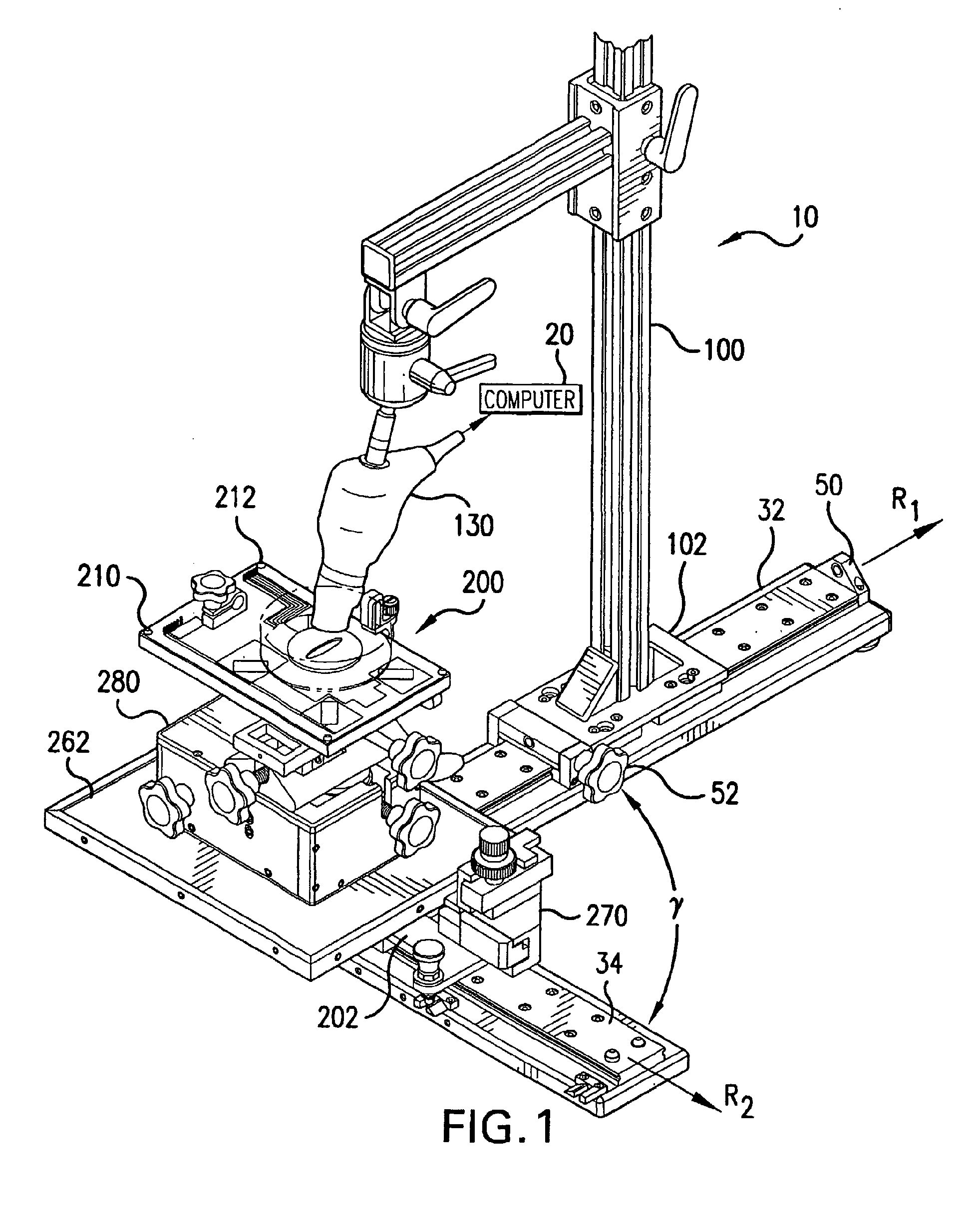
标题:
Integrated multi-rail imaging system
授权日:
2015-06-03
公开(公告)号:
EP1551275B1
申请日:
2003-10-10
公开(公告)日:
2015-06-03
当前申请(专利权)人:
VISUALSONICS INC.
发明人:
ZAN, LEO | MEHI, JAMES, I. 7250 YONGE ST.,
简单同族:
AU2003282810A1 | AU2003282810A8 | CA2501609A1 | CA2501609C | CA2939460A1 | CA2939460C | EP1551275A2 | EP1551275A4 | EP1551275B1 | HK1087316A1 | JP2006507843A | JP2009159986A | JP4331720B2 | JP5254867B2 | US20040102705A1 | US20040122324A1 | US20070185396A1 | US6851392 | US7133713 | WO2004032725A2 | WO2004032725A3
简单同族成员数量:
21
简单同族被引用专利总数:
75
诉讼案件数:
0
法律状态/事件:
授权