首页
专利数据库
产业人才
行业动态
产业政策法规
维权援助
个人中心
登录/注册
详情
文本
图像
标题:
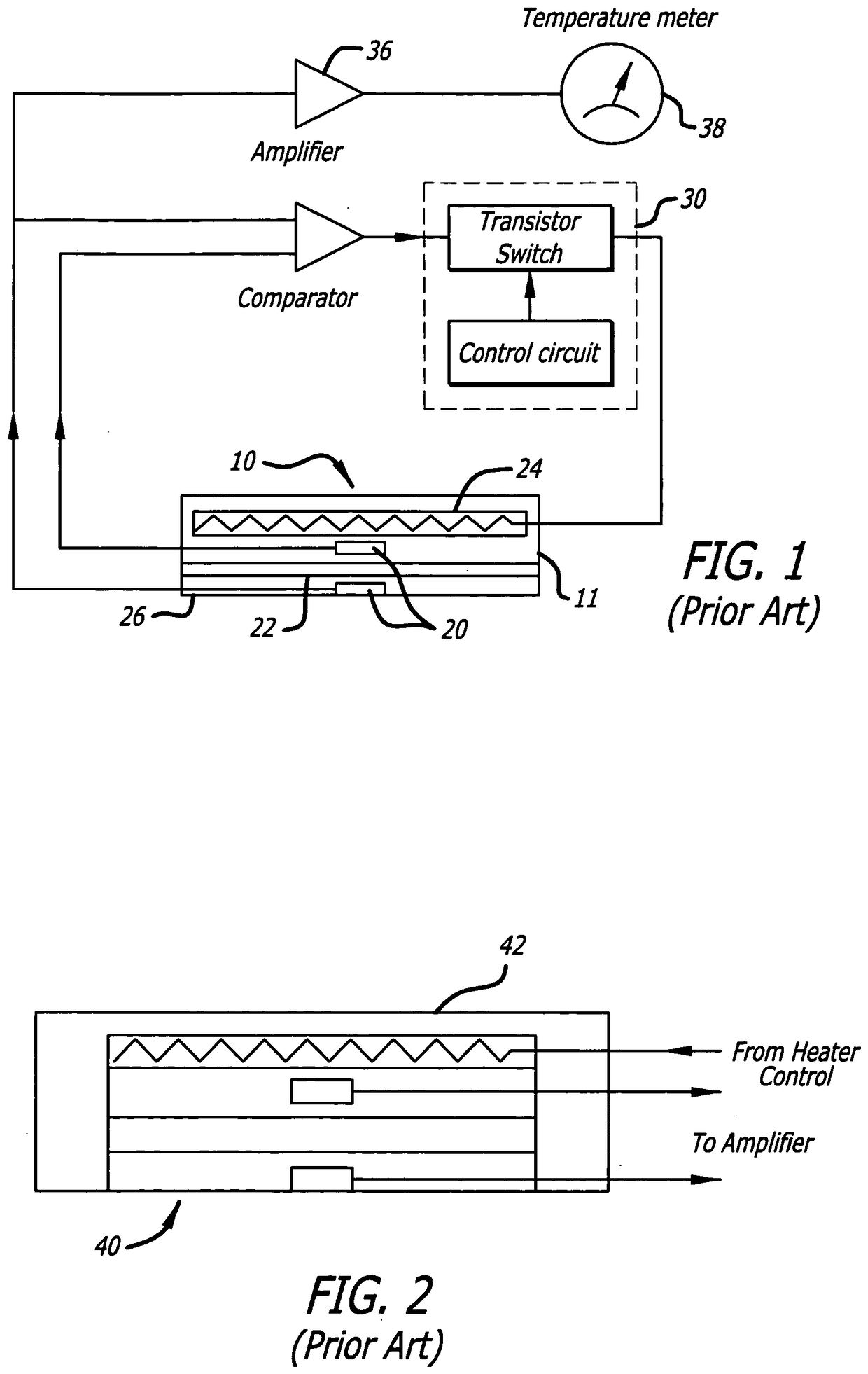
Deep tissue temperature probe constructions
授权日:
2017-07-19
公开(公告)号:
EP2419004B1
申请日:
2010-04-14
公开(公告)日:
2017-07-19
当前申请(专利权)人:
3M INNOVATIVE PROPERTIES COMPANY
发明人:
VAN DUREN, ALBERT, P.
简单同族:
CN102802506A | EP2419004A1 | EP2419004B1 | JP2012524262A | US20100268114A1 | US20150257652A1 | US9068895 | WO2010120362A1
简单同族成员数量:
8
简单同族被引用专利总数:
16
诉讼案件数:
0
法律状态/事件:
授权 | 权利转移