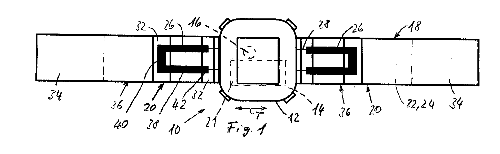
标题:
Strain gauge device and equipment with such strain gauge devices
授权日:
1900-01-01
公开(公告)号:
EP2957225A1
申请日:
2014-06-18
公开(公告)日:
2015-12-23
当前申请(专利权)人:
STBL MEDICAL RESEARCH AG | EMPA SWISS FEDERAL LABORATORIES FOR MATERIALS SCIENCE AND TECHNOLOGY
发明人:
HIRT, ETIENNE | CLEMENS, FRANK JÖRG | MELNYKOWYCZ, MARK
简单同族:
EP2957225A1 | JP2017522062A | US20170089782A1 | WO2015193045A1
简单同族成员数量:
4
简单同族被引用专利总数:
17
诉讼案件数:
0
法律状态/事件:
实质审查 | 权利转移