首页
专利数据库
产业人才
行业动态
产业政策法规
维权援助
个人中心
登录/注册
详情
文本
图像
标题:
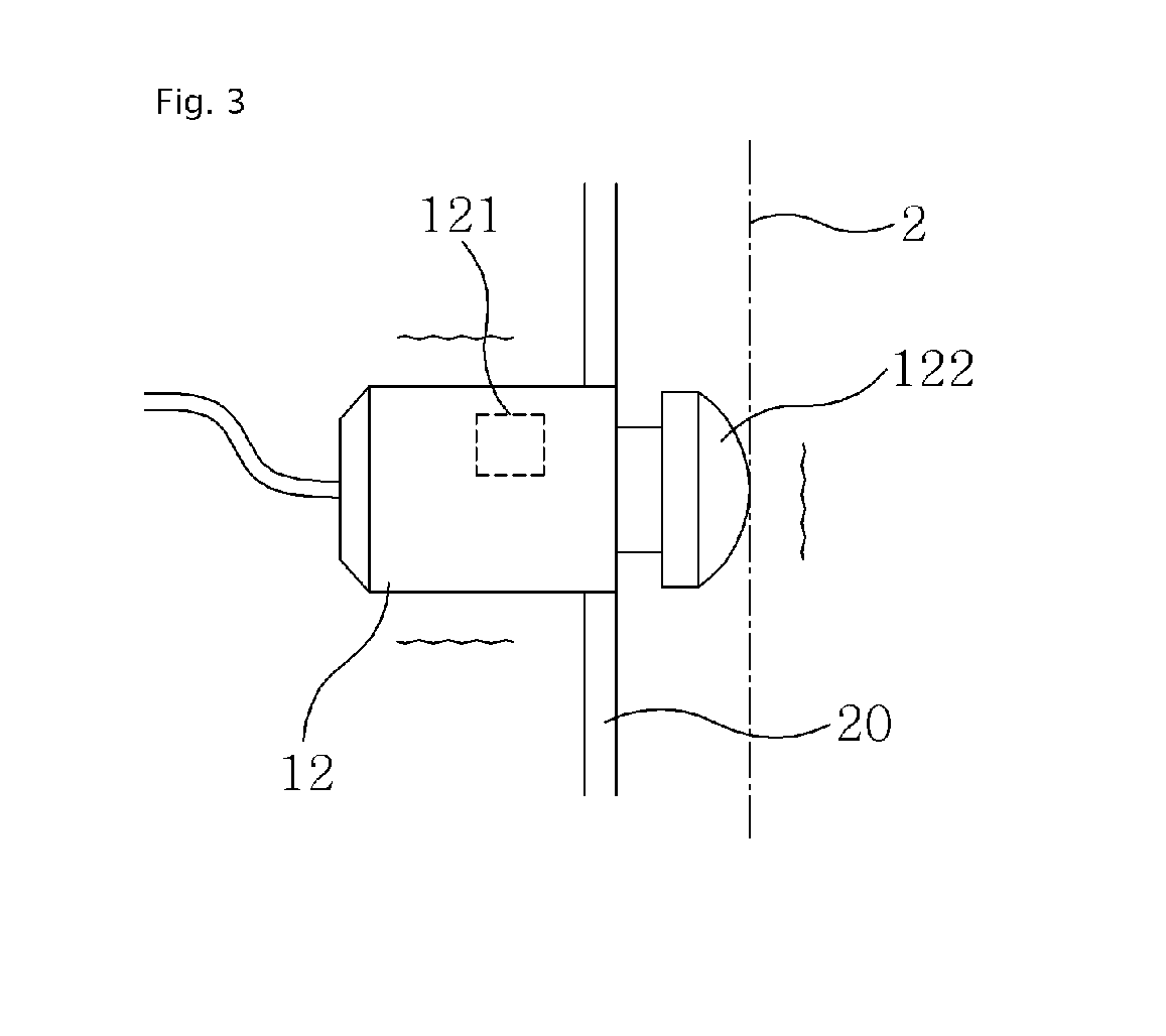
Device for examining nerve function
授权日:
1900-01-01
公开(公告)号:
EP2572637A2
申请日:
2011-04-15
公开(公告)日:
2013-03-27
当前申请(专利权)人:
PARK, JONG-EUN
发明人:
PARK, JONG-EUN
简单同族:
CN102892351A | EP2572637A2 | EP2572637A4 | JP2013530737A | KR101004001B1 | US20130066216A1 | WO2011145807A2 | WO2011145807A3
简单同族成员数量:
8
简单同族被引用专利总数:
13
诉讼案件数:
0
法律状态/事件:
撤回