标题:
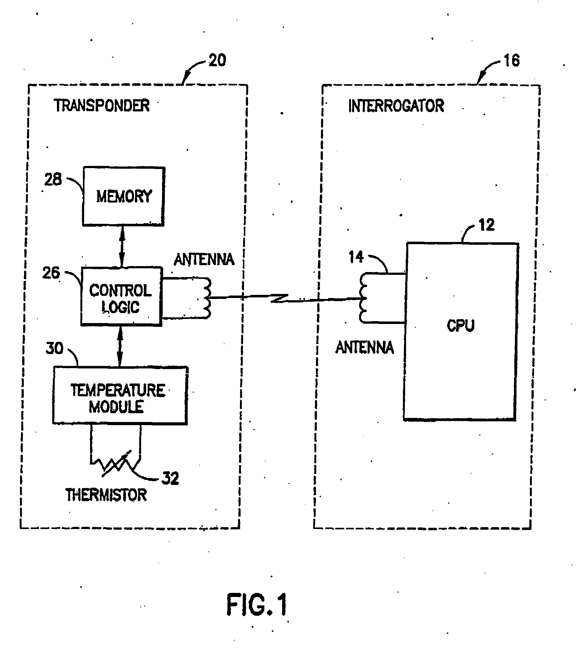
Method for determining temperature from a transponder
授权日:
2011-04-20
公开(公告)号:
EP2028606B1
申请日:
2001-02-09
公开(公告)日:
2011-04-20
当前申请(专利权)人:
BIO MEDIC DATA SYSTEMS INC.
发明人:
URBAS, DONALD J. | ELLWOOD, DAVID D. | WEDDINGTON, ERIC B.
简单同族:
AT326131T | AT506658T | AU2001036834A1 | AU2005202550A1 | AU2005202551A1 | AU2005202551B2 | AU782412B2 | CA2366460A1 | CA2366460C | DE60119655D1 | DE60119655T2 | DE60144501D1 | EP1198168A2 | EP1198168B1 | EP1684214A1 | EP2028606A1 | EP2028606B1 | ES2263593T3 | ES2365543T3 | JP2003521904A | JP2003521904A5 | JP4608169B2 | NZ515161A | NZ515161B | NZ527773A | NZ527773B | NZ527774A | NZ527774B | NZ527775A | NZ527775B | NZ527776A | NZ527776B | US20050166003A1 | US20050169345A1 | US6900721 | US7052178 | WO2001058252A2 | WO2001058252A3
简单同族成员数量:
38
简单同族被引用专利总数:
76
诉讼案件数:
0
法律状态/事件:
授权