首页
专利数据库
产业人才
行业动态
产业政策法规
维权援助
个人中心
登录/注册
详情
文本
图像
标题:
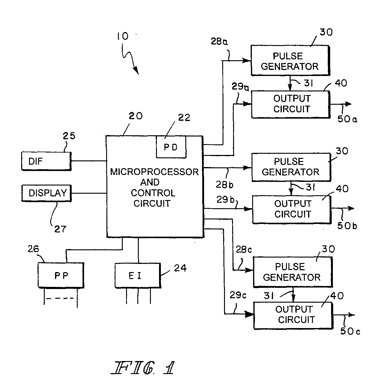
Multichannel stimulator electronics
授权日:
1900-01-01
公开(公告)号:
EP1181949A3
申请日:
2001-08-14
公开(公告)日:
2002-09-18
当前申请(专利权)人:
BORKAN, WILLIAM N.
发明人:
BORKAN, WILLIAM N.
简单同族:
AT342750T | DE60123889D1 | DE60123889T2 | EP1181949A2 | EP1181949A3 | EP1181949B1 | ES2273767T3 | US20020022866A1 | US6662053
简单同族成员数量:
9
简单同族被引用专利总数:
242
诉讼案件数:
0
法律状态/事件:
权利终止