首页
专利数据库
产业人才
行业动态
产业政策法规
维权援助
个人中心
登录/注册
详情
文本
图像
标题:
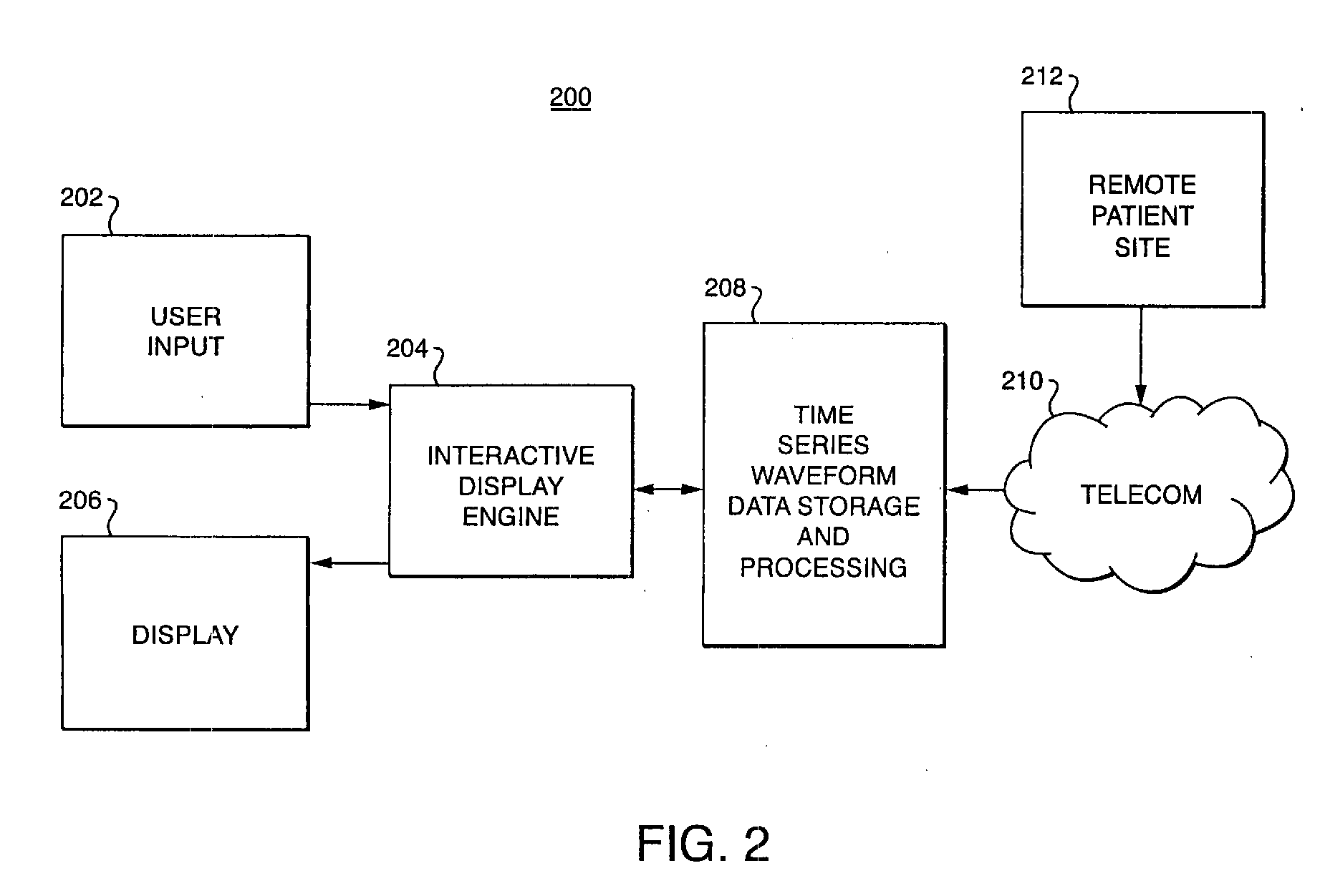
Method and apparatus for interactive annotation and measurement of time series data
授权日:
1900-01-01
公开(公告)号:
EP1406198A3
申请日:
2003-09-18
公开(公告)日:
2014-11-05
当前申请(专利权)人:
COVANCE CARDIAC SAFETY SERVICES INC.
发明人:
RAMSETH, DOUGLAS, J
简单同族:
EP1406198A2 | EP1406198A3
简单同族成员数量:
2
简单同族被引用专利总数:
16
诉讼案件数:
0
法律状态/事件:
撤回 | 权利转移