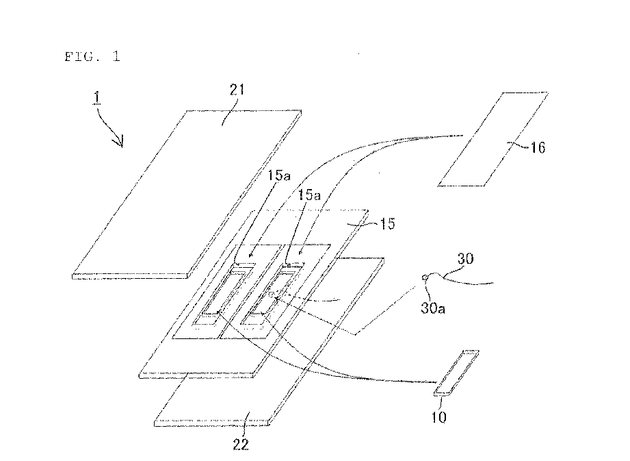
标题:
Biological signal detector
授权日:
1900-01-01
公开(公告)号:
EP2529664A1
申请日:
2011-01-26
公开(公告)日:
2012-12-05
当前申请(专利权)人:
DELTA TOOLING CO., LTD.
发明人:
FUJITA ETSUNORI | OGURA YUMI | OCHIAI NAOKI | MAEDA SHINICHIRO | AOI KOSUKE
简单同族:
CN102939047A | CN102939047B | EP2529664A1 | EP2529664A4 | EP2529664B1 | JP2011152242A | JP5679541B2 | US20130060164A1 | US9050000 | WO2011093303A1
简单同族成员数量:
10
简单同族被引用专利总数:
13
诉讼案件数:
0
法律状态/事件:
授权