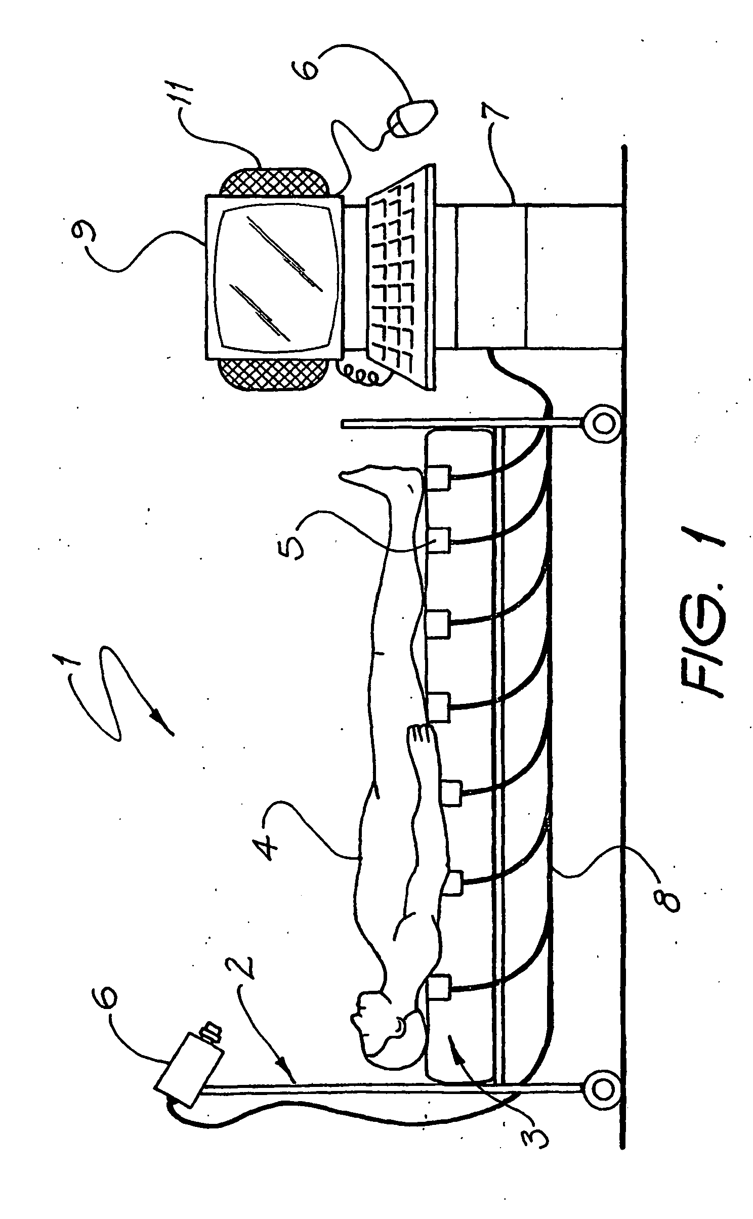
标题:
Electronic monitoring system
授权日:
2007-08-08
公开(公告)号:
EP1389063B1
申请日:
2002-05-21
公开(公告)日:
2007-08-08
当前申请(专利权)人:
AUSTRALIAN CENTRE FOR ADVANCED MEDICAL TECHNOLOGY, LTD.
发明人:
SULLIVAN, COLIN, EDWARD
简单同族:
AT369073T | DE60221664D1 | DE60221664T2 | EP1389063A1 | EP1389063A4 | EP1389063B1 | ES2291498T3 | JP2004529716A | US20050075583A1 | WO2002094101A1
简单同族成员数量:
10
简单同族被引用专利总数:
17
诉讼案件数:
0
法律状态/事件:
授权