首页
专利数据库
产业人才
行业动态
产业政策法规
维权援助
个人中心
登录/注册
详情
文本
图像
标题:
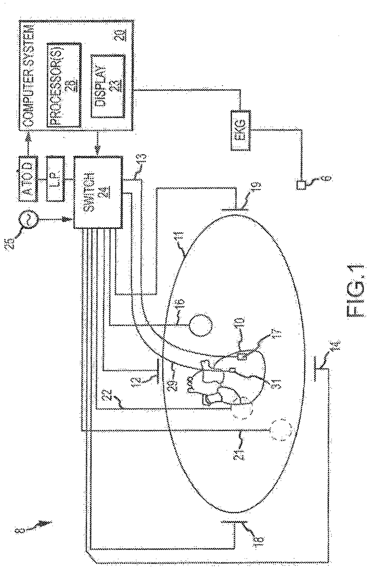
System for generating electrophysiology maps
授权日:
2018-01-31
公开(公告)号:
EP3021743B1
申请日:
2014-10-03
公开(公告)日:
2018-01-31
当前申请(专利权)人:
ST. JUDE MEDICAL, CARDIOLOGY DIVISION, INC.
发明人:
DENO, D. CURTIS
简单同族:
EP3021743A1 | EP3021743B1 | US20150119738A1 | US20170296082A1 | US9717429 | US9901271 | WO2015065648A1
简单同族成员数量:
7
简单同族被引用专利总数:
16
诉讼案件数:
0
法律状态/事件:
授权