标题:
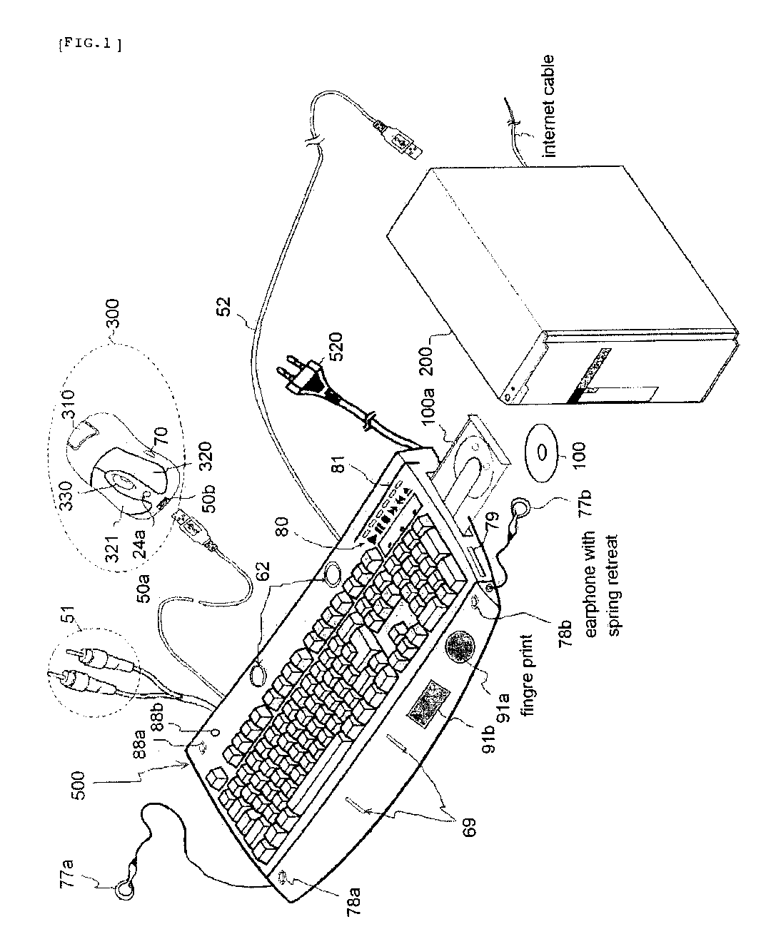
Remote medical diagnosis device including bio-mouse and bio-keyboard, and method using the same
授权日:
1900-01-01
公开(公告)号:
EP2248461A2
申请日:
2009-03-02
公开(公告)日:
2010-11-10
当前申请(专利权)人:
SAMSUNG ELECTRONICS CO., LTD.
发明人:
YOO, YAE CHERN
简单同族:
CN101959449A | CN101959449B | EP2248461A2 | EP2248461A4 | EP2248461B1 | KR101573212B1 | KR1020110080124A | US20110015504A1 | US20140330103A1 | US8764655 | WO2009110702A2 | WO2009110702A3
简单同族成员数量:
12
简单同族被引用专利总数:
117
诉讼案件数:
0
法律状态/事件:
授权 | 权利转移