标题:
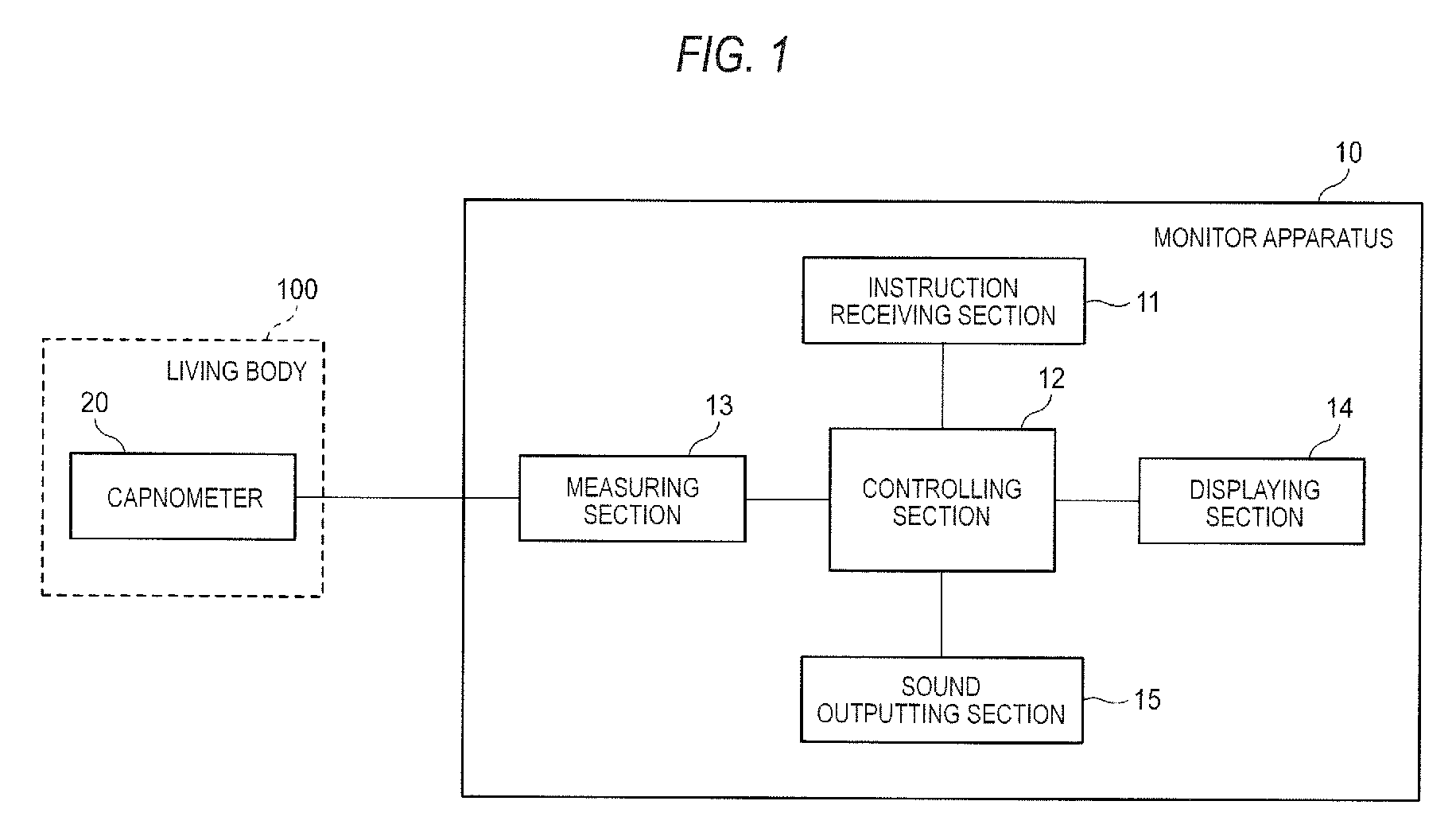
Biological information monitor
授权日:
1900-01-01
公开(公告)号:
EP2813179A1
申请日:
2014-06-06
公开(公告)日:
2014-12-17
当前申请(专利权)人:
NIHON KOHDEN CORPORATION
发明人:
AOKI, TOSHIKI | YAMAMORI, SHINJI | INOUE, MASAYUKI | MIYASAKA, KATSUYUKI | MIYASAKA, KIYOYUKI
简单同族:
EP2813179A1 | EP2813179B1 | EP3345547A1 | JP2015000110A | US10624545 | US20140371546A1
简单同族成员数量:
6
简单同族被引用专利总数:
4
诉讼案件数:
0
法律状态/事件:
授权