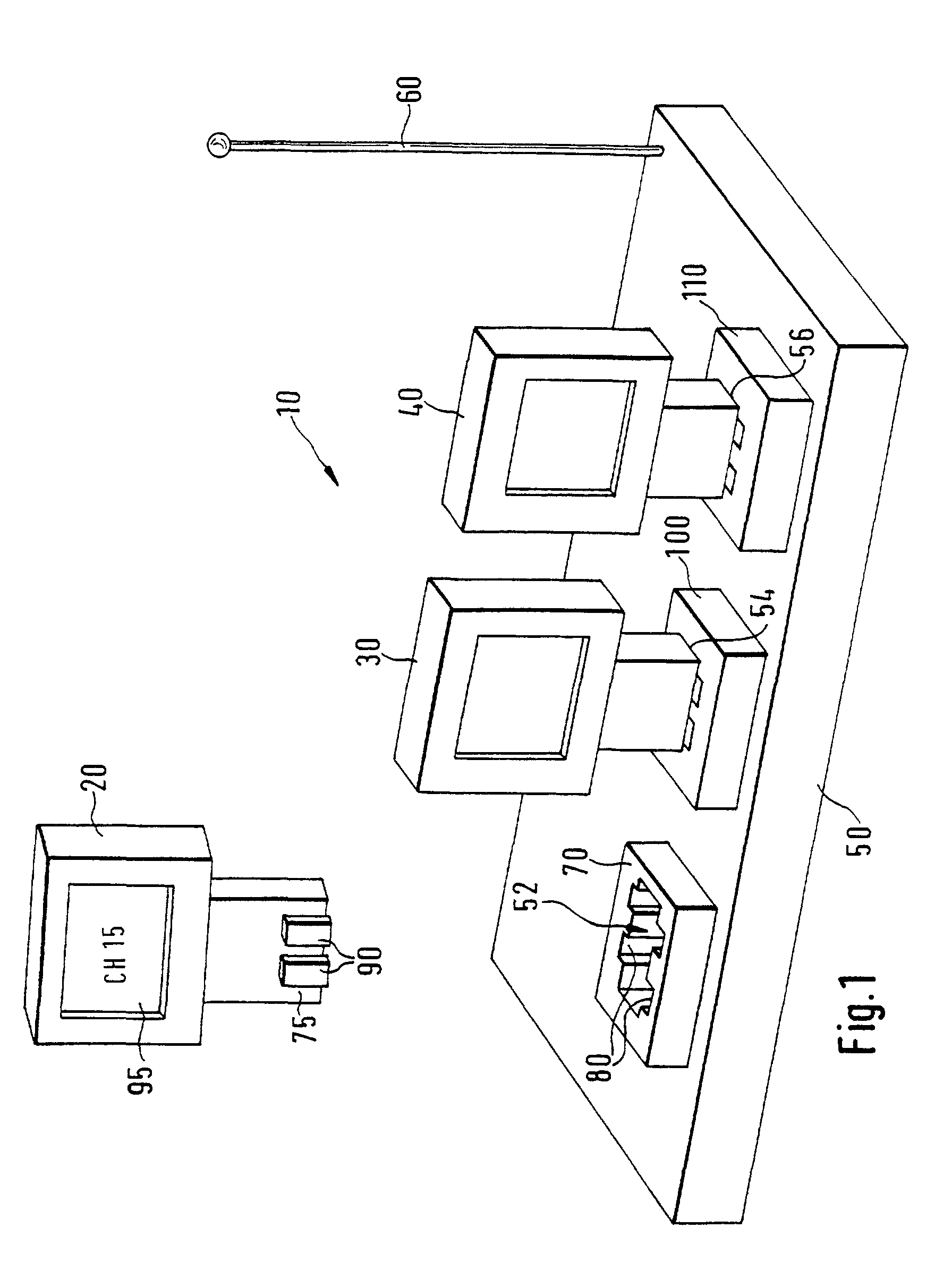
标题:
Telemetry system with transmitter holding position assignment
授权日:
2001-09-12
公开(公告)号:
EP1038496B1
申请日:
2000-01-15
公开(公告)日:
2001-09-12
当前申请(专利权)人:
AGILENT TECHNOLOGIES, INC. (A DELAWARE CORPORATION
发明人:
BOOS, ANDREAS | JACOBY, WERNER | WOHLSCHLAEGER, MARKUS | SCHLUETER, MALTE
简单同族:
DE60000012D1 | DE60000012T2 | EP1038496A1 | EP1038496B1 | JP2001269321A | JP2001269321A5 | JP4564672B2 | US20010027088A1 | US6968160
简单同族成员数量:
9
简单同族被引用专利总数:
13
诉讼案件数:
0
法律状态/事件:
期限届满 | 权利转移