首页
专利数据库
产业人才
行业动态
产业政策法规
维权援助
个人中心
登录/注册
详情
文本
图像
标题:
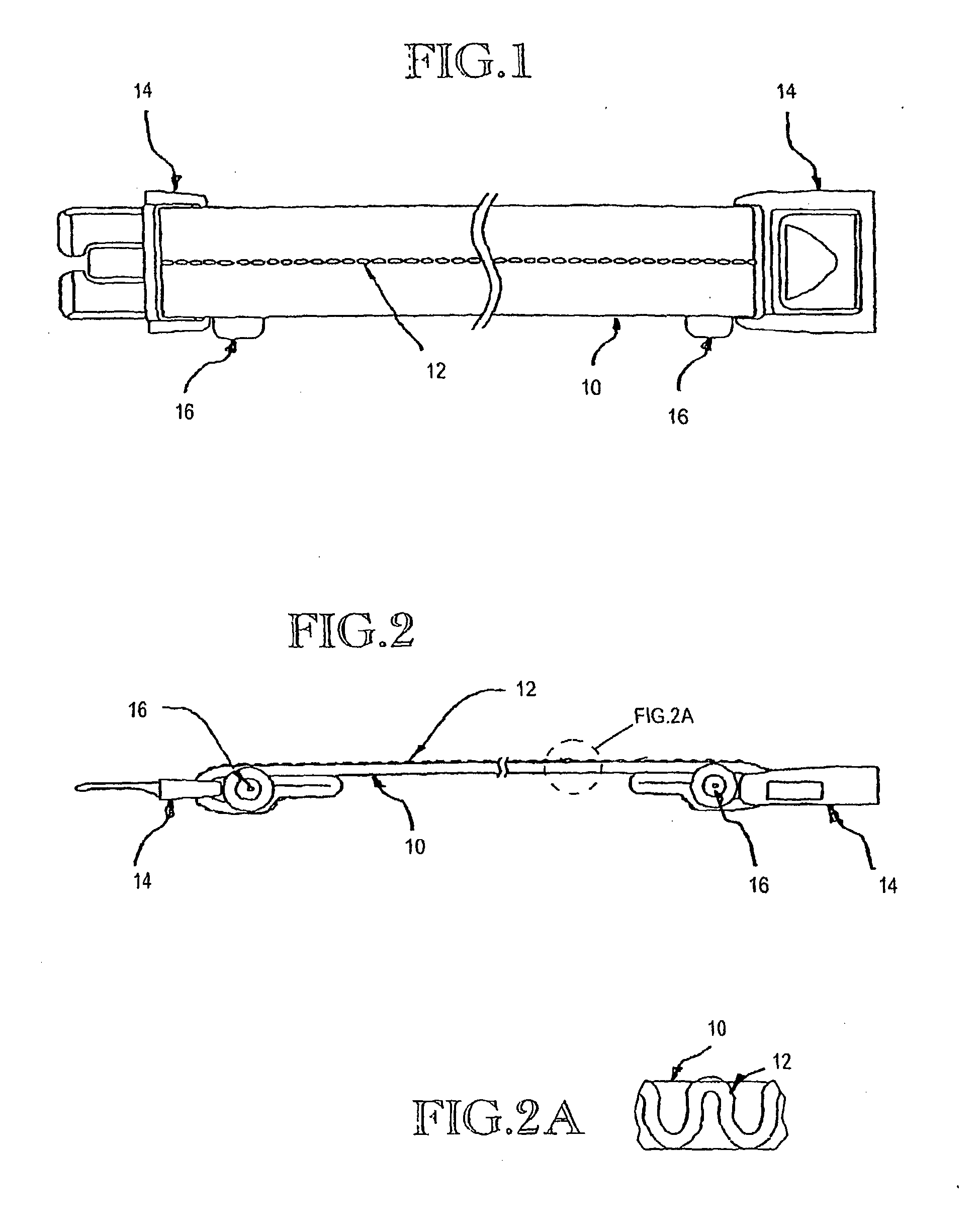
Reusable inductive transducer for measuring respiration
授权日:
2014-12-17
公开(公告)号:
EP1858410B1
申请日:
2006-03-01
公开(公告)日:
2014-12-17
当前申请(专利权)人:
PRO-TECH SERVICES, INC.
发明人:
LINVILLE, DAVID J.
简单同族:
AU2006237639A1 | CA2599934A1 | EP1858410A1 | EP1858410A4 | EP1858410B1 | US20060258948A1 | WO2006112956A1
简单同族成员数量:
7
简单同族被引用专利总数:
12
诉讼案件数:
0
法律状态/事件:
权利终止