首页
专利数据库
产业人才
行业动态
产业政策法规
维权援助
个人中心
登录/注册
详情
文本
图像
标题:
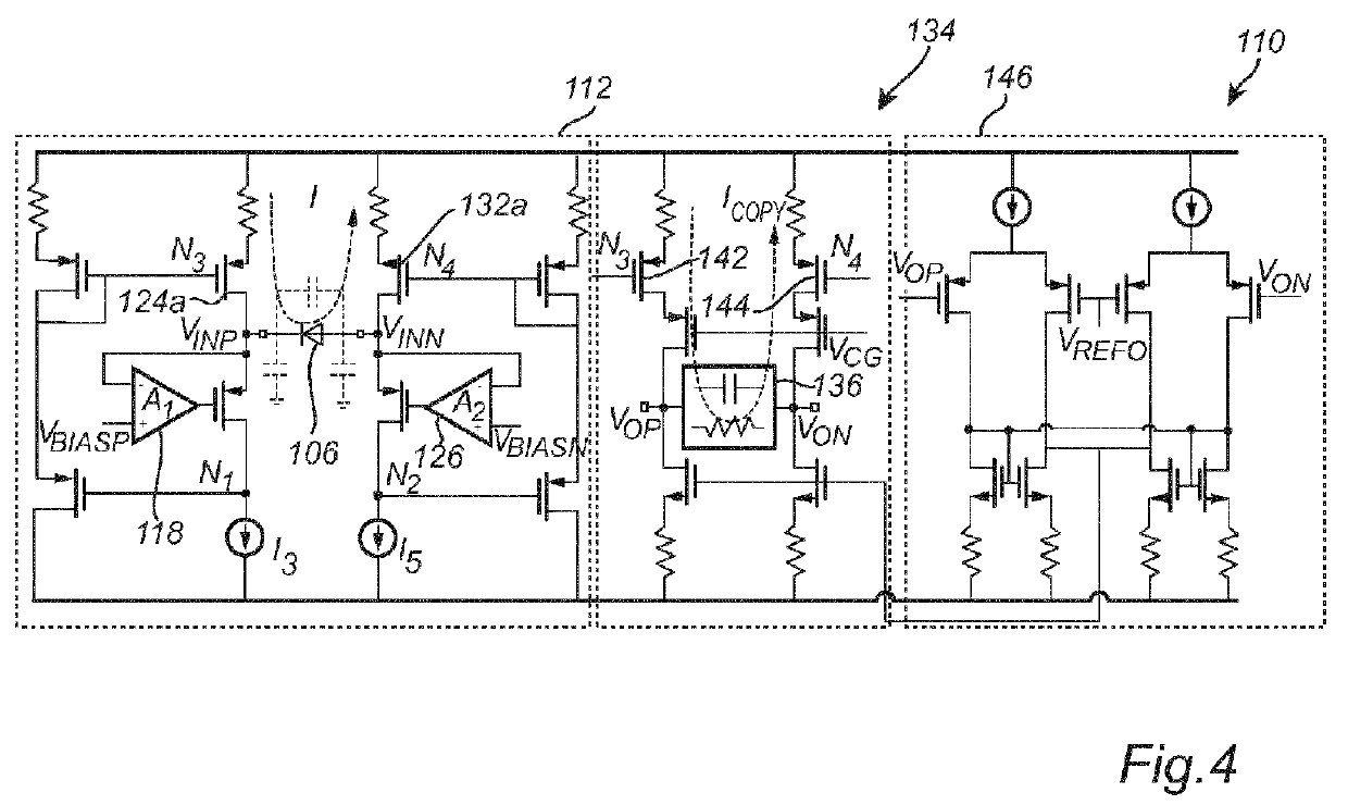
A device for read-out of a photoplethysmography signal and a wearable sensor
授权日:
1900-01-01
公开(公告)号:
EP3666180A1
申请日:
2018-12-14
公开(公告)日:
2020-06-17
当前申请(专利权)人:
STICHTING IMEC NEDERLAND | IMEC VZW
发明人:
SONG, SHUANG | XU, JIAWEI | VAN WEGBERG, ROLAND | VAN HELLEPUTTE, NICK
简单同族:
EP3666180A1 | US20200187788A1
简单同族成员数量:
2
简单同族被引用专利总数:
0
诉讼案件数:
0
法律状态/事件:
公开