标题:
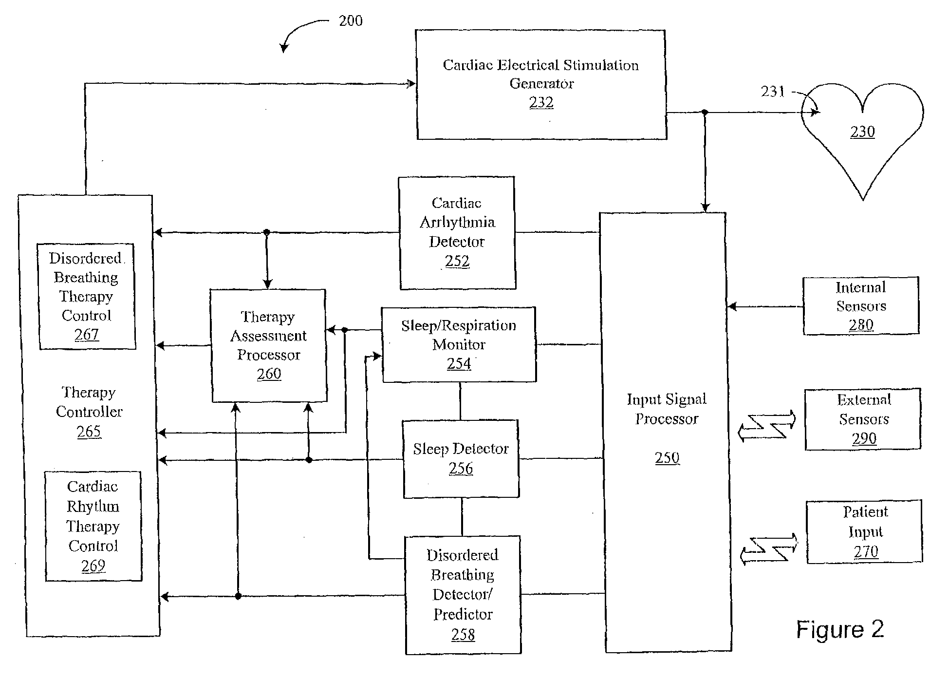
Disordered breathing management system and methods
授权日:
1900-01-01
公开(公告)号:
EP1938862A3
申请日:
2004-08-18
公开(公告)日:
2010-08-25
当前申请(专利权)人:
CARDIAC PACEMAKERS, INC.
发明人:
HARTLEY, JESSE W. | QUAN, NI | HATLESTAD, JOHN D. | LOVETT, ERIC G. | KENKNIGHT, BRUCE H. | STAHMANN, JEFFREY E. | LEE, KENT
简单同族:
AT397475T | DE602004014281D1 | EP1656181A1 | EP1656181B1 | EP1938862A2 | EP1938862A3 | EP1938862B1 | WO2005018737A1
简单同族成员数量:
8
简单同族被引用专利总数:
118
诉讼案件数:
0
法律状态/事件:
授权