标题:
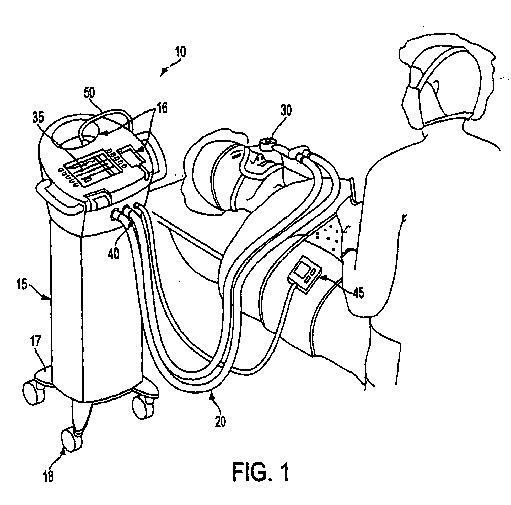
Apparatus for providing relief from pain and anxiety associated with medical or surgical procedures
授权日:
2011-02-02
公开(公告)号:
EP1450888B1
申请日:
2002-10-09
公开(公告)日:
2011-02-02
当前申请(专利权)人:
SCOTT LABORATORIES, INC.
发明人:
HICKLE, RANDALL, S.
简单同族:
AT497400T | AU2002362752A1 | AU2002362752B2 | CA2463374A1 | CA2463374C | CN100381184C | CN1602213A | DE60239104D1 | EP1450888A1 | EP1450888B1 | HK1068060A | JP2005516644A | JP4377226B2 | MXPA04003443A | US20030079746A1 | US7308894 | WO2003030979A1
简单同族成员数量:
17
简单同族被引用专利总数:
113
诉讼案件数:
0
法律状态/事件:
权利终止