标题:
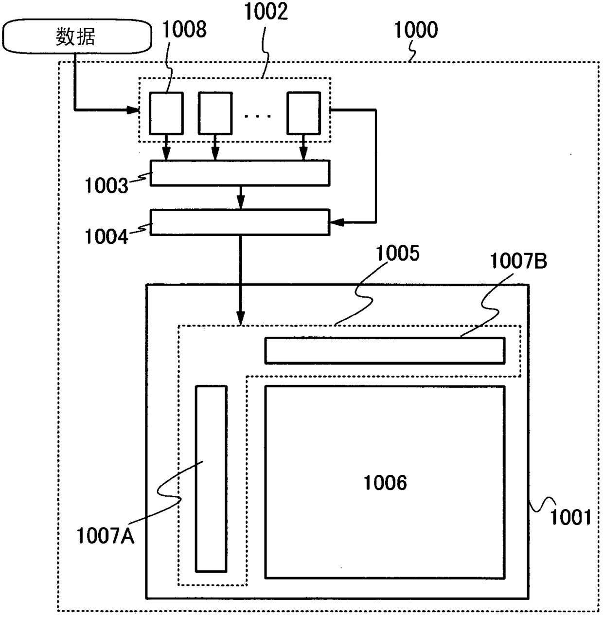
液晶显示设备、用于驱动该液晶显示设备的方法、以及包括该液晶显示设备的电子设备
授权日:
2016-08-17
公开(公告)号:
CN102648490B
申请日:
2010-11-04
公开(公告)日:
2016-08-17
当前申请(专利权)人:
株式会社半导体能源研究所
发明人:
小山润 | 山崎舜平
简单同族:
CN102648490A | CN102648490B | CN105739209A | EP2507787A1 | EP2507787A4 | JP2011141531A | JP2011141531A5 | JP2015146029A | JP2017142521A | JP2019113854A | JP5714872B2 | JP6122053B2 | KR101839931B1 | KR1020120101693A | KR1020180030255A | TW201133099A | TW201602700A | TW201908841A | TWI506349B | TWI669560B | TWI683170B | US20110128461A1 | US20140002516A1 | US8531618 | WO2011065230A1
简单同族成员数量:
25
简单同族被引用专利总数:
54
诉讼案件数:
0
法律状态/事件:
授权