首页
专利数据库
产业人才
行业动态
产业政策法规
维权援助
个人中心
登录/注册
详情
文本
图像
标题:
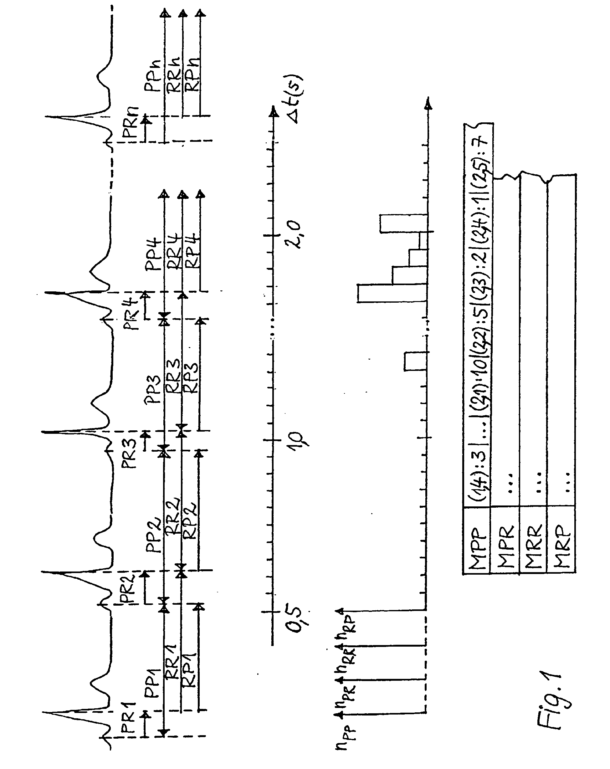
Method and apparatus for storing heart signal data
授权日:
2008-09-17
公开(公告)号:
EP1262143B1
申请日:
2002-05-13
公开(公告)日:
2008-09-17
当前申请(专利权)人:
BIOTRONIK GMBH & CO. KG
发明人:
SHEKHAR, MRINGANK
简单同族:
DE10144655A1 | DE50212779D1 | EP1262143A1 | EP1262143B1 | US20020177784A1 | US6564091
简单同族成员数量:
6
简单同族被引用专利总数:
15
诉讼案件数:
0
法律状态/事件:
权利终止 | 权利转移