首页
专利数据库
产业人才
行业动态
产业政策法规
维权援助
个人中心
登录/注册
详情
文本
图像
标题:
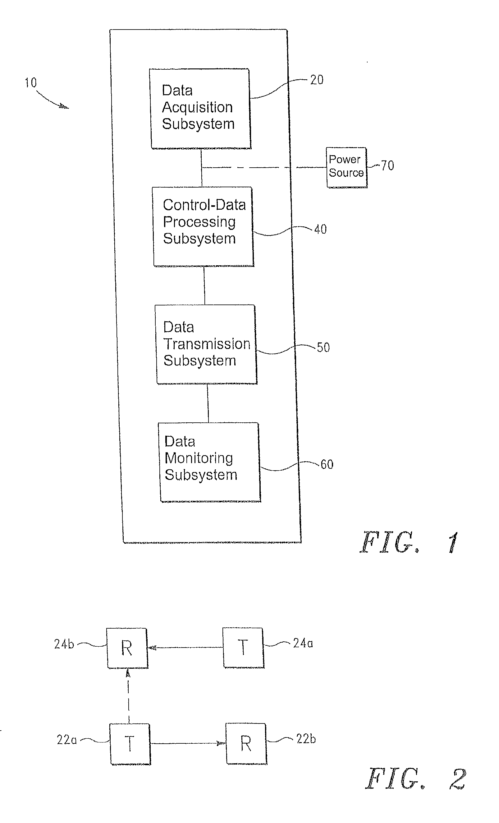
Method and system for interpretation and analysis of physiological, performance, and contextual information
授权日:
1900-01-01
公开(公告)号:
EP2289402A1
申请日:
2010-08-31
公开(公告)日:
2011-03-02
当前申请(专利权)人:
ADIDAS AG
发明人:
DERCHAK, ALEXANDER P.
简单同族:
CA2714135A1 | EP2289402A1 | EP2289402B1 | JP2011104352A | JP5841716B2 | US20110054290A1
简单同族成员数量:
6
简单同族被引用专利总数:
69
诉讼案件数:
0
法律状态/事件:
授权