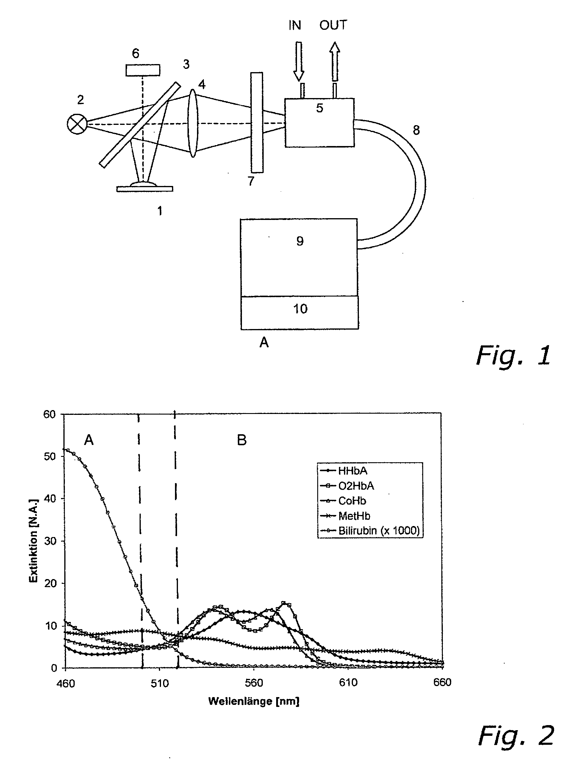
标题:
Oximeter
授权日:
2012-08-15
公开(公告)号:
EP1987765B1
申请日:
2008-04-14
公开(公告)日:
2012-08-15
当前申请(专利权)人:
ROCHE DIAGNOSTICS GMBH | F. HOFFMANN-LA ROCHE AG
发明人:
STIMPFL, PETER | HUEMER, HERFRIED | STROHMEIER, MANFRED | UNTERSBERGER, STEFAN
简单同族:
CA2630229A1 | CA2630229C | CN101319993A | CN101319993B | CN102519888A | CN102519888B | DK1987765T3 | EP1987762A1 | EP1987765A1 | EP1987765B1 | ES2392364T3 | HK1124920A | HK1124920A1 | HK1168420A | HK1168420A1 | JP2008275625A | JP5501573B2 | PL1987765T3 | US20080274554A1 | US7710550
简单同族成员数量:
20
简单同族被引用专利总数:
15
诉讼案件数:
0
法律状态/事件:
授权 | 权利转移