首页
专利数据库
产业人才
行业动态
产业政策法规
维权援助
个人中心
登录/注册
详情
文本
图像
标题:
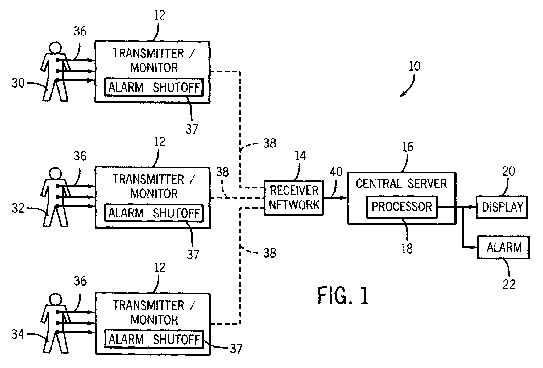
Telemetry system and method
授权日:
1900-01-01
公开(公告)号:
EP2226001A1
申请日:
2010-03-01
公开(公告)日:
2010-09-08
当前申请(专利权)人:
GENERAL ELECTRIC COMPANY
发明人:
FRIEDMAN, BRUCE ARNOLD | ALBERTE, JR., ROBERT JOSEPH | GRUBIS, MATTHEW
简单同族:
CN101866535A | CN101866535B | EP2226001A1 | EP2226001B1 | US20100225501A1 | US8310374
简单同族成员数量:
6
简单同族被引用专利总数:
15
诉讼案件数:
0
法律状态/事件:
授权