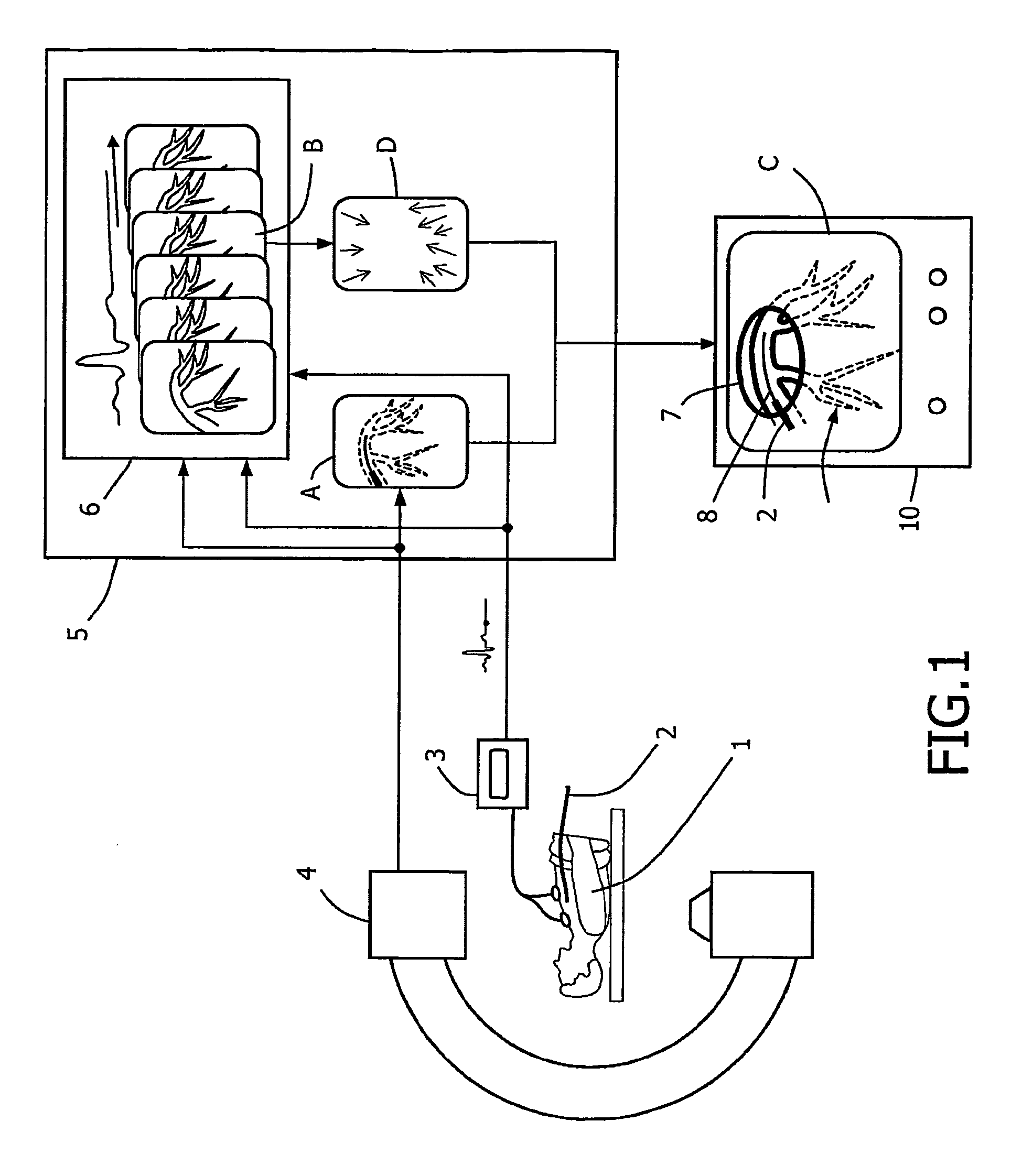
标题:
Device and method for combining two images
授权日:
2014-04-30
公开(公告)号:
EP1685535B1
申请日:
2004-08-11
公开(公告)日:
2014-04-30
当前申请(专利权)人:
PHILIPS INTELLECTUAL PROPERTY & STANDARDS GMBH | KONINKLIJKE PHILIPS N.V.
发明人:
ECK, KAI, PHILIPS INT. PROPERTY & STANDARDS GMBH | BREDNO, JÖRG, PHILIPS INT. PROP. & STANDARDS GMBH | DESMEDT, PAUL A. C., PHILIPS I. P. & STAND. GMBH | RONGEN, PETER M. J., PHILIPS INT. PROP. & S. GMBH | STEGEHUIS, HERMAN, PHILIPS INT. PROP. & ST. GMBH | GIJSBERS, GEERT, PHILIPS INT. PROP & STAND. GMBH
简单同族:
CN1839408A | EP1685535A1 | EP1685535B1 | JP2007502646A | JP5030588B2 | US20060262966A1 | US7822241 | WO2005020147A1 | WO2005020147A8
简单同族成员数量:
9
简单同族被引用专利总数:
82
诉讼案件数:
0
法律状态/事件:
权利终止 | 权利转移